EasyManua.ls Logo

Yamaha Disklavier MX-100B - Key Stop Rail Unit

Yamaha Disklavier MX-100B
50 pages
Print Icon
To Next Page IconTo Next Page
To Next Page IconTo Next Page
To Previous Page IconTo Previous Page
To Previous Page IconTo Previous Page
Loading...
MX-100B
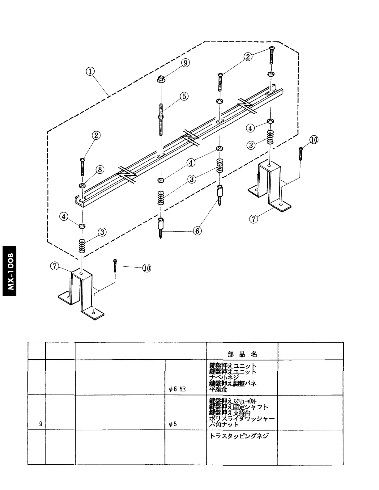
2. Key Stop Rail Unit
11
2. Key Stop Rail Unit
Ref.
No.
1
1
2
3
4
5
6
7
8
10
Part No.
NB513830
Vi925900
EA050256
AA504740
EV200066
AA504056
AA504040
AA504130
EX550100
EV100056
EX500116
Description
Key Stop Rail Unit
Key Stop Rail Unit
Pan Head Screw
Spring
Flat Washer
Bolt
Shaft
Angle
Washer
Hexagonal Nut
Truss Head Tapping Screw
5X25 YE
5X8x0.5t
4X12
YE
Remarks
BL, WH
WN

Related product manuals