EasyManua.ls Logo

Yamaha F100 - Page 72

Yamaha F100
497 pages
Print Icon
To Next Page IconTo Next Page
To Next Page IconTo Next Page
To Previous Page IconTo Previous Page
To Previous Page IconTo Previous Page
Loading...
2-9
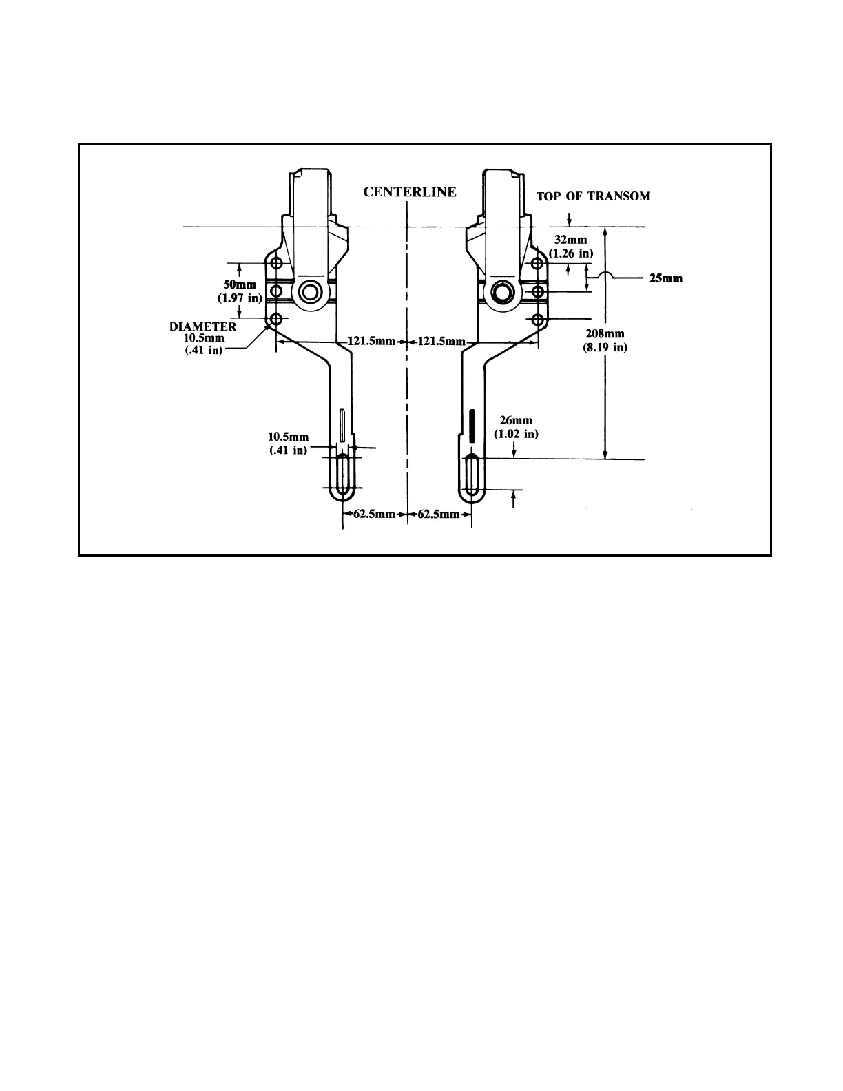
Outboard Rigging Guide - 2001 Transom Mounting Patterns
25X3 (3-Cyl.) 30HP, 40HP (Manual Tilt)

Table of Contents

Other manuals for Yamaha F100

Related product manuals