EasyManua.ls Logo

Yamaha F6C - Clamp Bracket

Yamaha F6C
202 pages
Print Icon
To Next Page IconTo Next Page
To Next Page IconTo Next Page
To Previous Page IconTo Previous Page
To Previous Page IconTo Previous Page
Loading...
3-3
RIG
GING
Rigging information
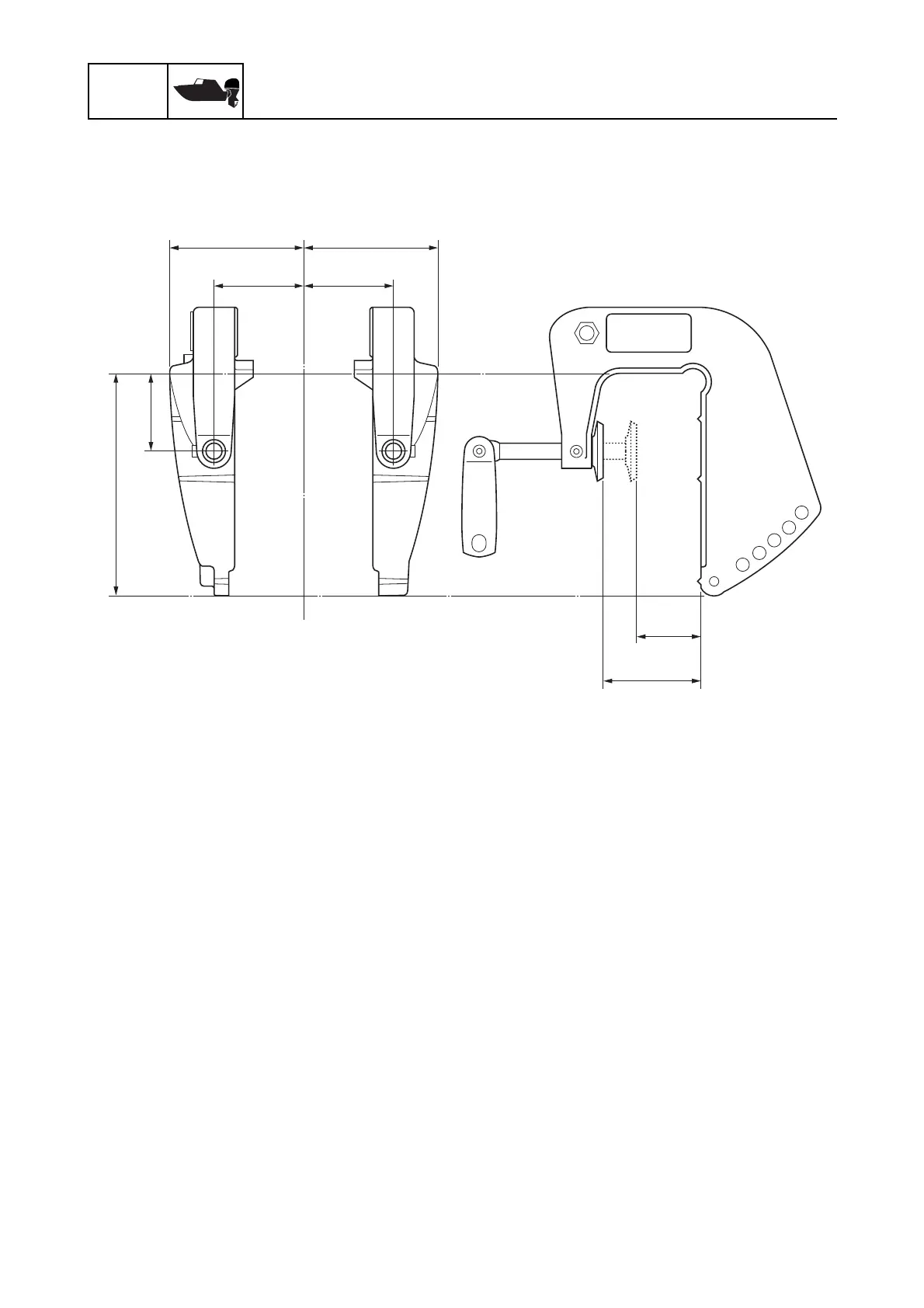
Clamp bracket
22 (0.9)
60 (2.4)
83 (3.3)
136 (5.4)
48 (1.9)
83 (3.3)
55 (2.2)
55 (2.2)
mm (in)

Table of Contents

Other manuals for Yamaha F6C

Related product manuals