EasyManua.ls Logo

Yamaha HS80M - Circuit Board Layout

Yamaha HS80M
27 pages
Print Icon
To Next Page IconTo Next Page
To Next Page IconTo Next Page
To Previous Page IconTo Previous Page
To Previous Page IconTo Previous Page
Loading...
HS80M/HS50M
7
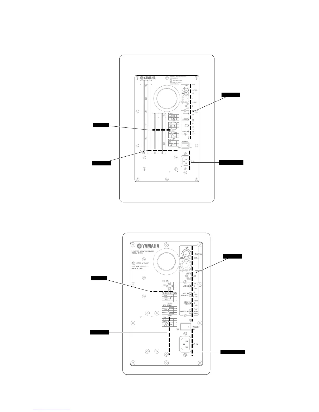
CIRCUIT BOARD LAYOUT (ユニットレイアウト
HS80M
HS50M
INPUT
AC INLET
TRANS
AMP
(LF 2/4)
(LF 3/4)
(LF 1/4)
(LF 4/4)
INPUT
AC INLET
TRANS
AMP
(LF 2/4)
(LF 3/4)
(LF 1/4)
(LF 4/4)

Related product manuals