EasyManua.ls Logo

Yamaha MagicStomp MK2 - Page 22

Yamaha MagicStomp MK2
36 pages
Print Icon
To Next Page IconTo Next Page
To Next Page IconTo Next Page
To Previous Page IconTo Previous Page
To Previous Page IconTo Previous Page
Loading...
22
Italiano
Deep Edit
Qualsiasi parametro del patch correntemente selezionato può essere editato. Ciò può essere utilizzato,
assieme alla capacità di selezionare un tipo di effetto diverso, per creare dei patch originali.
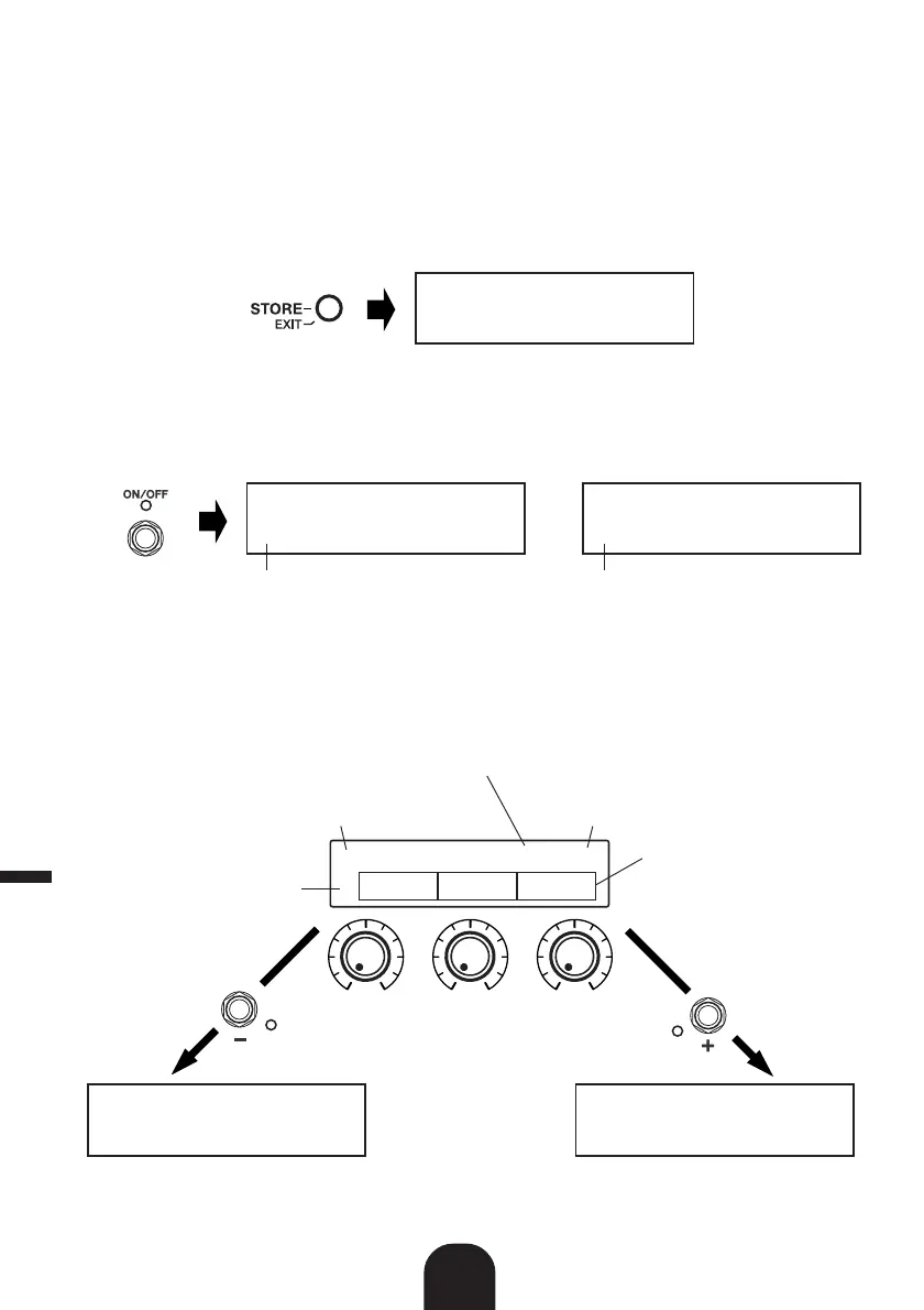
q Premere il pulsante [STOR/EXIT].
L’indicazione “PRESS[STORE]1sec” appare nella metà inferiore del display.
* Se si preme il pulsante [STORE/EXIT] quando è selezionato un patch preimpostato, il numero del patch dell’utente
corrispondente viene selezionato automaticamente come numero di patch di destinazione per la memorizzazione.
w Premere una volta l’interruttore ON/OFF e rilasciare rapidamente (entro un secondo).
Siete ora nella modalità Deep Edit ed il display deve apparire come indicato in basso.
* Se si preme l’interruttore AFR/ON/OFF per più di un secondo si entrerà nella modalità Name Edit. ( Manuale
di istruzioni: pagina 122)
e Utilizzare gli interruttori +/– per selezionare il display di impostazione dei parametri.
I parametri per il patch correntemente selezionato sono disposti su diverse pagine. Utilizzare gli
interruttori “+” o “–” per passare alla pagina precedente o successiva del display.
* Per ulteriori informazioni sui parametri individuali, vedere il foglio separato “Effect List”.
U01:DIST1
PRESS[STORE]1sec
0EDIT-KNOB0TYPEŸ
؇KNB1fiKNB2áKNB3
Icona Deep Edit
ÿEDIT-PRM:02/07Ÿ
؇MID0fiTRE0áPRE0
o
Icona Deep Edit
ÿEDIT-PRM:03/07Ÿ
؇VOL0fiSTE0áBASF
Parametro
Usare le manopole sotto al
display per eseguire le
impostazioni.
Icona Deep Edit
Questa icona indica che esiste una pagina precedente.
Usare “–” per vedere la pagina precedente.
Questa icona indica che esiste una pagina successiva.
Usare “+” per vedere la pagina successiva.
La pagina del display di impostazione
dei parametri mostrata è pagina 3 di 7
ÿEDIT-PRM:02/07Ÿ
؇MID0fiTRE0áPRE0
ÿEDIT-PRM:04/07Ÿ
؇MIDFfiTREFáPREF
Pagina precedente Pagina successiva

Related product manuals