EasyManua.ls Logo

Yamaha MagicStomp MK2 - Page 4

Yamaha MagicStomp MK2
36 pages
Print Icon
To Next Page IconTo Next Page
To Next Page IconTo Next Page
To Previous Page IconTo Previous Page
To Previous Page IconTo Previous Page
Loading...
4
ÿEDIT-FXT:63/63Ÿ
ØAcousticMulti
ÿEDIT-FXT:63/63Ÿ
AFR0FUNCTION0ON
Auto Feedback Reduction (AFR) Function
The MAGICSTOMP is equipped with a highly sophisticated Auto Feedback Reduction function (AFR) to
eliminate feedback (howling).
* In this case, “Feedback” is when a specific frequency produced by the amplifier causes the guitar to resonate uncon-
trollably, creating a howling sound.
The MAGICSTOMP’s AFR function uses a notch filter, which cuts the frequency that is causing the
feedback, to eliminate feedback. A maximum of five notch filters can be set and operating at the same
time.
The AFR function is only available in patches that have their effect type set to
“AcousticMulti”.
Switching the AFR Function ON
The MAGICSTOMP MK2 is shipped from the factory with its AFR Function switched OFF (the function is
inactive). First, use the procedure described below to set the AFR Function ON (activate the function).
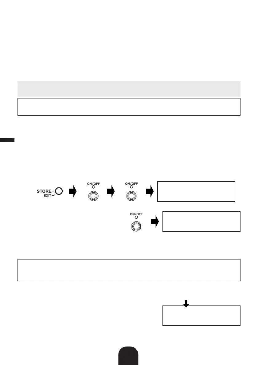
q After pressing the [STORE/EXIT] button, press the ON/OFF switch two times to
select the “Effect Type Select” display in the Deep Edit Mode.
* When pressing the switch two times, make sure the switch is released within one second both times.
w Until the following display appears,
press and hold (for about four sec-
onds) the ON/OFF switch.
The display shown above will appear for one second and then return to the display that was se-
lected before the [STORE/EXIT] button was pressed.
* To switch the AFR Function OFF again, follow steps q and w described above once again.
The procedure described above only has an effect on patches that have their effect
type set to “AcousticMulti”. Also, the AFR function’s ON/OFF setting effects all patches,
it can not be set in individual patches.
Using the AFR Function
After you have switched ON (activated) the AFR function using
the procedure described on the previous page, the “« edit icon
will appear for patches that can use the AFR function (patches
that have their effect type set to “AcousticMulti”).
* The normal ¤” edit icon appears when the AFR function is set OFF (inactive), or when a patch is selected that uses
an effect type other than “AcousticMulti”.
U011«Natural
ó‡BASSfiMID0áTRE
CAUTION
Be careful. Constant feedback at loud levels can cause damage to equipment.
English

Related product manuals