EasyManua.ls Logo

Yamaha RY9 - Page 54

Yamaha RY9
104 pages
Print Icon
To Next Page IconTo Next Page
To Next Page IconTo Next Page
To Previous Page IconTo Previous Page
To Previous Page IconTo Previous Page
Loading...
MODES & FUNCTIONS
46
If the LCD displays the words “MEMORY FULL”, you cannot record a User song. To free up memory,
clear any unwanted User patterns or songs. (Be sure to save any important User data first,
offloading it to an external storage device such as the Yamaha MDF3 MIDI Data Filer.)
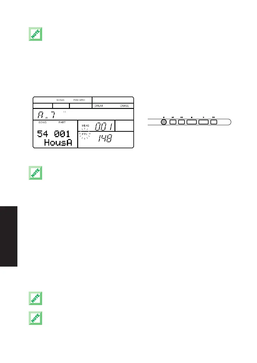
ENTERING SONG RECORD MODE - First, enter Song Mode and select a
User song location. Then, press [REC] to enter Song Record Standby Mode,
which means the RY9 will be standing by ready to record—by either the
Step or Realtime recording process. (To exit Song Record Mode, press
[REC] again.)
You cannot enter Song Record Mode when a Preset song (#00 ~ #49) is selected. If you press
[REC] when a Preset song is selected, the word “PRESET” will appear briefly in the LCD to remind
you to select a User song and then try again.
ENTERING STEP RECORD MODE - From within Song Record Standby Mode,
you can go ahead and start entering data. (To exit Step Record Mode, press
[REC] again.)
RECORDING IN STEP-TIME - Step recording is comprised of two distinct
operations:
1. Entering one-measure song “parts” in the pattern track by selecting a
Preset or User pattern number with [-1] and [+1].
2. Recording chord changes in the chord track with the Chord Assign
feature.
In Step Record Mode, pressing [ENTER] after selecting a pattern number will advance the clock
position location by one measure—ready for you to select the next part. This is especially useful
when you want to enter the same pattern as a series of parts—just press [ENTER] several times.
Depending on the amount of data you have recorded, it may not be possible to fully record all the
available user songs.
REC TOP BWD STOP PLAY FWD
PDF03_E.qx 6/2/99 5:51 PM Page 46

Related product manuals