EasyManua.ls Logo

Yanmar 3YM30 - Page 26

Yanmar 3YM30
114 pages
Print Icon
To Next Page IconTo Next Page
To Next Page IconTo Next Page
To Previous Page IconTo Previous Page
To Previous Page IconTo Previous Page
Loading...
PRODUCT OVERVIEW
20 YM Series Operation Manual
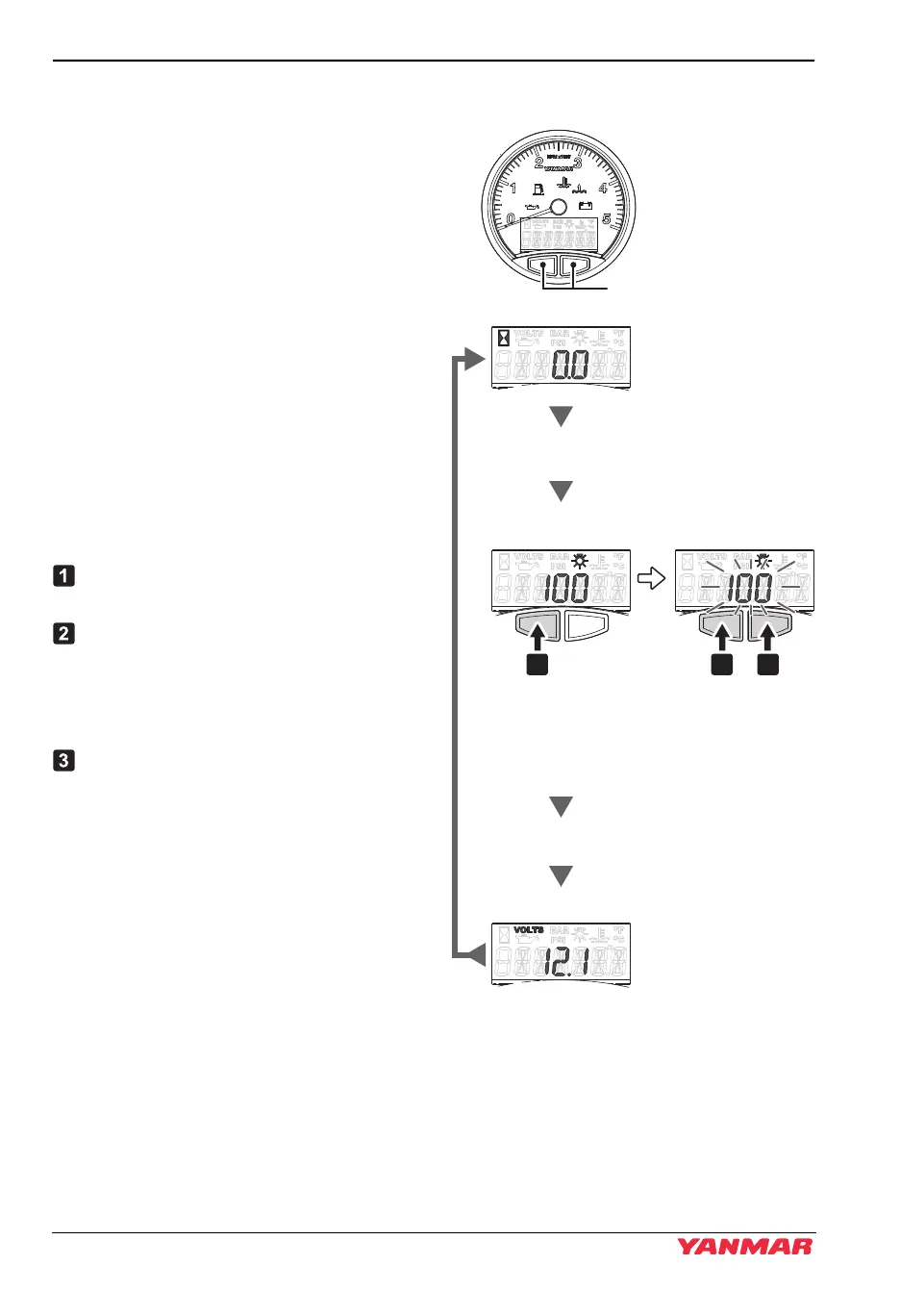
LCD control (hourmeter, display brightness, battery voltage)
You can switch (scroll) between displays
by pressing the buttons on the bottom.
Switching screens by pressing the
right button (Pressing the left button
switches the screens in the opposite
direction.)
Press the power switch.
After 4 seconds, the LCD shows the
hourmeter.
Pressing the right button on the bottom of
the LCD shows the temperature display.
This feature is not available on this
engine.
Pressing the right button again shows the
LCD brightness settings.
To set the brightness of the backlight:
Press the left button continuously and
the digits of the LCD start flashing.
In this condition, press the right button
to decrease the brightness and the left
button to increase the brightness.
(The brightness changes in 6 steps of
20 %.)
To set the desired brightness, do not
touch the buttons for 3 seconds.
Note: Continuously pressing means
holding the button for approx. 2
seconds.
Next, press the right button to show the
pressure display.
This feature is not available on this
engine.
Press again to show the battery voltage.
Pressing the button once more returns the
display to the initial hourmeter.
Figure 1
Figure 11
Scroll
Push and hold
(display will blink when
ready)
Scroll
100, 80, 60, 40, 20, 0
(value will be set after
3 seconds)
Return to hourmeter
1 2 3
051899-00EN00
Engine hour ( >300 min
-1
)
Coolant temperature
Backlighting Brightness
Oil pressure
Battery voltage
YM OPM_EN.book 20 ージ 013年6月7日 金曜日 午前11時11分

Table of Contents

Other manuals for Yanmar 3YM30

Related product manuals