EasyManua.ls Logo

Zebra 105SL - Page 231

Zebra 105SL
246 pages
Print Icon
To Next Page IconTo Next Page
To Next Page IconTo Next Page
To Previous Page IconTo Previous Page
To Previous Page IconTo Previous Page
Loading...
32056L Rev. 2 12/4/01 105SL Maintenance Manual Page 6-17
OPTION KITS SECTION 6
7. Load the fanfold media as illustrated on the media loading label in the printer or in the
User’s Guide.
8. Make sure the upper and lower media sensors are positioned to read the end of label
indicator on the new fanfold media.
9. Close the media cover.
10. Reconnect the power cord to the printer.
11. Reconnect the power cord to the power source. Place the power switch in the On (I)
position.
12. Refer to Section 2 of this manual and configure the printer for fanfold media.
,17(51$/=(%5$1(735,176(59(5 ,,237,21
This kit (part # 46689) includes the parts necessary to install the Internal ZebraNet II
PrintServer option into the 105SL.
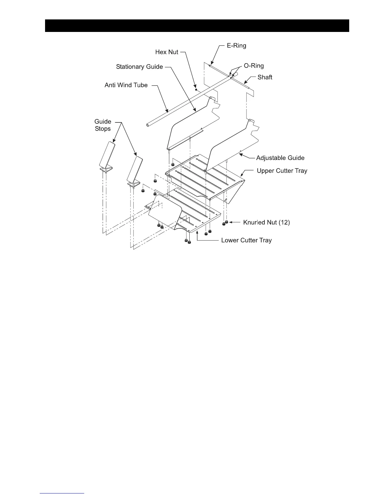
Figure 6-12. Cutter Catch Tray Length and Width Adjustments

Other manuals for Zebra 105SL

Related product manuals