EasyManua.ls Logo

Zip FlushMaster Pearl - Install Sensor

Zip FlushMaster Pearl
12 pages
Print Icon
To Next Page IconTo Next Page
To Next Page IconTo Next Page
To Previous Page IconTo Previous Page
To Previous Page IconTo Previous Page
Loading...
Page 6 of 12 Zip FlushMaster Pearl Installation & Maintenance Instructions - 82902 - January 2012 v1.00
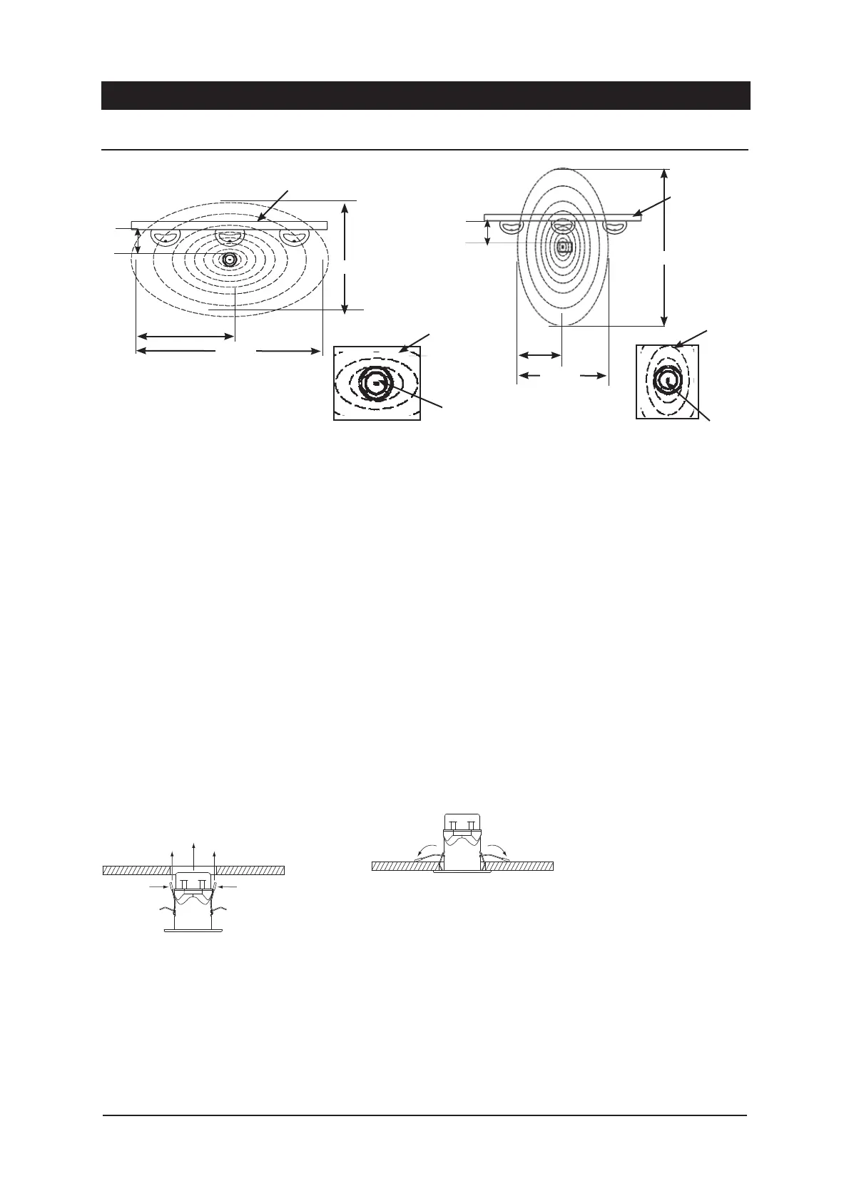
Install Sensor
Position the ceiling sensor not more than 500 mm from the urinal wall. Sensor coverage from a 2700 mm ceiling is
approximately 2400 x 3600 mm.
For a single stall urinal, position the sensor above the centre of the stall. Position the sensor slots at right angles to the
urinal wall.
For a double stall urinal, position the sensor midway between the stalls. Position the sensor slots at right angles to the
urinal wall.
For a triple stall urinal, position the sensor above the centre of all three stalls. Position the sensor slots parallel to the
urinal wall. For more than three stalls, use additional sensors.
Warning. Do not connect battery or power pack until all plumbing connections are completed. The power must be
connected last as connection activates the system test mode (see page 8).
To install a ceiling recessed sensor:
WS004 and 99168, will require a 64 mm diameter hole in the ceiling.
WS003; WS006 and WS007 will require a 105mm diameter hole in the ceiling
Use inbuilt clips to fasten sensor housing in place when inserted into hole. (see diag below)
Typical Installation with Ceiling Resessed Sensor
Urinal wall
surface
2400 mm
< 500 mm
Two or three
Stalls
3600 mm
1800 mm
3600 mm
Urinal wall
surface
< 500 mm
Ceiling
Sensor
Sensor
Slots
Ceiling
Sensor
Sensor
Slots
2400 mm
1200 mm
One or Two
Stalls
BB
A
A
AA
Step 1. Insert sensor with clips ‘A’
in the upright position
Step 2 . Ensure clips ‘A’ are in
the folded down position

Related product manuals