EasyManua.ls Logo

Zoom B2.1u - Effect Types and Parameter Reference; Understanding Parameter Tables and Symbols; Parameter Control Methods

Zoom B2.1u
41 pages
Print Icon
To Next Page IconTo Next Page
To Next Page IconTo Next Page
To Previous Page IconTo Previous Page
To Previous Page IconTo Previous Page
Loading...
ZOOM B2.1u
26
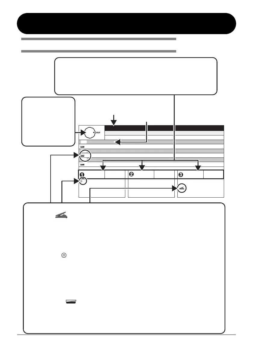
DELAY
DELAY module
This is a delay module which allows long delay times and use of the hold function.
dL
DELAY
This is a delay with a maximum setting of 5000 ms.
Pd
PINGPONG DELAY
This is a ping-pong type delay where the delay sound alternates between left and right.
EC
ECHO
This effect simulates a tape echo with a long delay time of up to 5000 ms.
These three effect types have the same parameters.
TIME
1 – 99,
1.0 – 5.0
FEEDBACK
0 – 98, 1.0
MIX
0 – 98, 1.0
Adjusts the delay time. In the
range from 10 – 990 ms, the
adjustment is made in 10-ms
steps (1 – 99). For 1 second and
above, the adjustment is made in
100-ms steps (1.0 – 2.0).
Adjusts the feedback amount.
Adjusts the mixing ratio of
original sound and ef
fect sound.
HOLD
HOLD
HOLD
TAP
DL
PD
EC
Effect parameters 1 – 3
Effect type
These are the parameters that can be adjusted with Parameter knobs 1 – 3 when
the effect type is selected. The setting range for each parameter is shown.
Three-digit setting values are shown with a dot between the two numerals.
Example: 1 – 98, 1.0 = 1 – 98, 100
Expression pedal
A pedal icon ( ) in the listing indicates a parameter that can be controlled with the built-in
expression pedal.
Specify the respective module as modulation target for the expression pedal ( p. 20), and then
select the respective effect type of the module. The parameter can then be controlled in real time
with a connected expression pedal.
Tap
A [TAP] key icon ( ) in the listing indicates a parameter that can be set by hitting the [TAP]
key.
In edit mode, when the respective module/effect type is selected, repeatedly hitting the [TAP] key
will set the parameter according to the key press interval (modulation cycle, delay time, etc.).
In play mode, if the DELAY module is ON for the currently selected patch, repeatedly hitting the
[TAP] key will temporarily change the parameter.
Hold
A foot switch icon ( ) in the listing indicates an effect type for which hold can be turned
on and off with the foot switch (FS01).
Set the foot switch function to "dH" (delay hold) ( p. 22) for the respective patch. When this patch
is then selected in play mode, the hold function can be switched on and off by pressing the foot
switch.
Module selector
The Module selector
symbol shows the
position of the knob at
which this
module/parameter is
called up.
Effect module
TAP
HOLD
Effect Types and Parameters
How to read the parameter table

Related product manuals