EasyManua.ls Logo

A.O. Smith CENTURY E-PLUS - E-PLUS SWITCHLESS WIRING; Dual Voltage 115;230 V Switchless

A.O. Smith CENTURY E-PLUS
59 pages
Print Icon
To Next Page IconTo Next Page
To Next Page IconTo Next Page
To Previous Page IconTo Previous Page
To Previous Page IconTo Previous Page
Loading...
48
3
1/2 PHASE
1/2 PHASE
OVERLOAD
CAPACITOR
PROTECTOR
L1
3
1
4
L2
2
LINE
SPLICE
SPLICE
LINE
MAINMAIN
INTERNAL DIAGRAM
HIGH VOLT
CONNECTION
LOW VOLT
CONNECTION
HIGH
SPEED
MAIN
HIGH SPEED
PHASE
LOW
SPEED
MAIN
LOW SPEED
PHASE
LOW SPEED
HIGH SPEED
COMMON
S1
S3
S2
S1
1
1
2
3
2
4
S3
S2
3
L1
4
L2
LINE
LINE
TO LOW SPEED
MAIN
TO LOW SPEED
PHASE
TO TERMINAL #3
OF PROTECTOR
VIEW OF BACK SIDE OF SOLID STATE
SWITCH AND TERMINAL BOARD
NOTE 1: THIS LEAD IS
L2 WHEN USING SWITCH
RED
ORNG
BLK/YLW
YLW
YLW
BLK/YLW
BLK/YLW
BRN
YLW
BRN
BRN
BRN
BRN
BLU
BLU
TO LOW SPEED
MAIN
LINE 1
LINE 2
RED
RED
RED
BLU
BLU
WHT
WHT
WHT
WHT
BLK
ORNG
ORNG
ORNG
RUN CAPACITOR
HIGH
SPEED
LOW
SPEED
INSULATED
LEAD
SEE NOTE #1
3
3
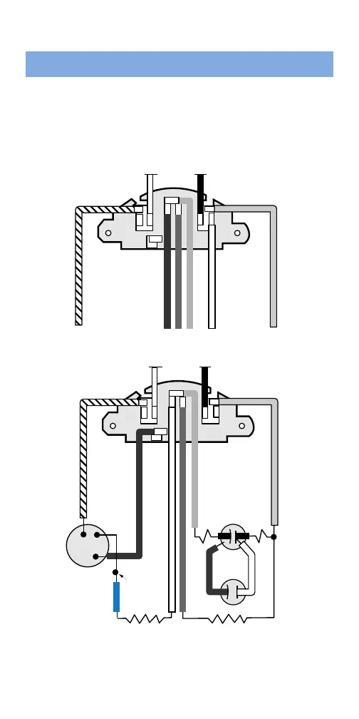
Dual Voltage
115/230 Volt
Type CX–
3
4
to 1
1
2
Hp
Switchless
EXTERNAL CONNECTIONS
Wiring Diagram #167985. Connection Label #166362.
E-PLUS
®
SWITCHLESS

Related product manuals