EasyManua.ls Logo

A.O. Smith dve-80 - Checking Single Phase (1Ø) Power

A.O. Smith dve-80
76 pages
Print Icon
To Next Page IconTo Next Page
To Next Page IconTo Next Page
To Previous Page IconTo Previous Page
To Previous Page IconTo Previous Page
Loading...
Servicing should only be performed by a Qualified Service Agent
13
OPERATION & SERVICE
Checking Single Phase (1Ø) Power
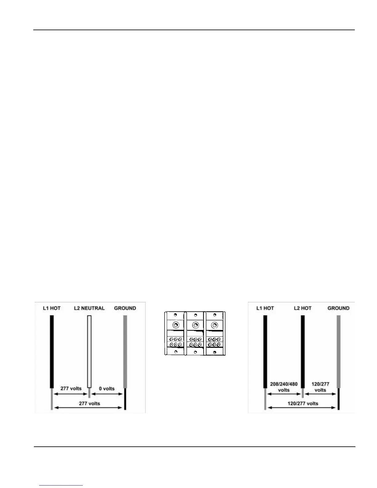
A single phase power supply consists of two wires connected to the L1 and L2 terminals of
the Power Distribution Block, the L3 terminal is not used. On a single phase (1Ø) 277 volt
power supply one of the two wires is a “neutral” wire and does have voltage present. On a
single phase (1Ø) 277 volt power supply the “hot” wire should be connected to the L1
terminal and the “neutral” wire should be connected to the L2 terminal. On 208, 240 and 480
volt power supplies both wires connected to L1 and L2 are “hot” with voltage present.
Voltage Between Terminals: With the power supply to the water heater turned on set the
volt meter to an AC voltage range above the expected voltage (600 VAC or higher range
initially) and carefully touch the two test probes to the L1 and L2 terminals of the water
heater’s Power Distribution Block. The voltage readings should match the voltage listed on
the water heaters rating label by ± 5%.
Voltage to Ground: With the power supply to the water heater turned on check between the
L1 terminal and the ground wire connection inside the water heater’s control panel. Check
between L2 and ground in the same way. On a 277 volt power supply only one of the two
terminals should read 277 volts, the neutral will read approximately zero volts. On 208/240
volt power supplies each reading should be approximately 120 volts to ground. On 480 volt
power supplies each reading to ground should be approximately 277 volts.
Service Warning: Zero or low voltage readings between internal wiring and/or Power
Distribution Block terminals and ground can be due to an inadequate earth ground. TREAT
ALL WIRES AS BEING HOT until it has been determined there is no voltage present.
If the voltage readings taken between L1 and L2 are more than ± 5% of the listed voltage on
the water heaters rating label or if the readings to ground were far less (at or near zero
volts) than expected: check the fuses and the breaker and/or disconnect switch supplying
power to the water heater. Contact a Qualified/Licensed electrician to restore power. If the
voltage readings taken are a standard voltage (277/208/240/480) but do not match the listed
voltage on the water heaters rating label secure power to the water heater. DO NOT place it
back in service. Contact the distributor and/or manufacturer to determine if the water heater
can be field converted and/or replaced to match the power supply at the location.
277 Volt 1Ø Power
208/240/480 Volt 1Ø Power
Power Distribution Block
(see Figures 1 & 2 on pages 8 and 9)
L1 L2 L3

Table of Contents

Related product manuals