EasyManua.ls Logo

A&D UA-660 - Memoria

A&D UA-660
64 pages
Print Icon
To Next Page IconTo Next Page
To Next Page IconTo Next Page
To Previous Page IconTo Previous Page
To Previous Page IconTo Previous Page
Loading...
S-17
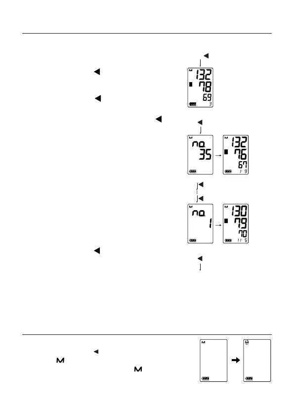
Recuperación de los datos de la memoria
Nota: Este tensiómetro almacena en la memoria las últimas 60 mediciones.
Recuperación de la memoria
1. Cuando el monitor está apagado,
presione el botón . Se muestra el
promedio de las últimas tres mediciones.
(Si no hay datos, se muestra “0”.
Presione el botón o START/STOP
(Iniciar/Detener) para apagar el aparato).
2. Cada vez que se presiona el botón ,
los datos de la memoria se visualizan
de la siguiente manera. Datos más
recientes (n.º n, en el ejemplo, n.º 35)
Tres segundos después de la
visualización del número de datos, se
muestran los datos de medición.
Último dato (n.º 1). Tres segundos
después de la visualización del número
de datos, se muestran los datos de
medición.
3. Una vez visualizados los últimos datos,
presione el botón para volver a la
pantalla del promedio de las última
3 mediciones.
4. Presione el botón START/STOP (Iniciar/
Detener) para apagar el aparato.
Después de un minuto sin funcionar, el
aparato se apagará automáticamente.
Eliminación de datos almacenados en la memoria
Cuando el tensiómetro esté apagado, mantenga
presionado el botón . El tensiómetro muestra el
indicador , elimina los datos almacenados en
la memoria cuando el indicador parpadea y
se apaga automáticamente.
Sistólica
Diastólica
Pulso
Sistólica
Diastólica
Pulso
Últimos datos
(más antiguos)
Presione
Presión sistólica promedio
Presión diastólica promedio
Pulso promedio
Promedio de los
últimos 3 datos
Datos más recientes
Volver al promedio
de las últimas
3 mediciones

Related product manuals