EasyManua.ls Logo

ABB A200-L - Fig. 65: Overview of Speed Sensor Tightening Torque; Table of Tightening Torques

ABB A200-L
145 pages
Print Icon
To Next Page IconTo Next Page
To Next Page IconTo Next Page
To Previous Page IconTo Previous Page
To Previous Page IconTo Previous Page
Loading...
Operation Manual / A200-L
9 Disassembly and assembly / 9.22 Table of tightening torques
© Copyright 2021 ABB. All rights reserved. HZTL4036_EN Rev.T December 2021
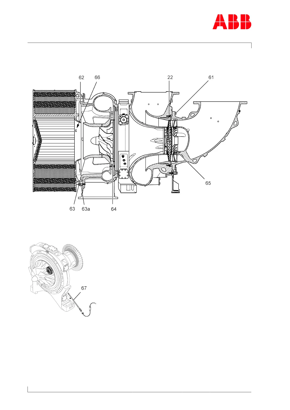
9.22 Table of tightening torques
Fig.64: Overview of tightening torques
Fig.65: Overview of speed sensor tightening torque
Page 108 / 145

Table of Contents

Other manuals for ABB A200-L

Related product manuals