EasyManua.ls Logo

ABB C1900 Series - Record Alarm Acknowledge

ABB C1900 Series
44 pages
Print Icon
To Next Page IconTo Next Page
To Next Page IconTo Next Page
To Previous Page IconTo Previous Page
To Previous Page IconTo Previous Page
Loading...
36
CH1
CH2
CH3
CH4
AL1 AL2 AL3 AL4
Alarm Activated
302
795
CH1
CH2
CH3
CH4
AL1 AL2 AL3 AL4
CH1
CH2
CH3
CH4
AL1 AL2 AL3 AL4
CH1
CH2
CH3
CH4
AL1 AL2 AL3 AL4
302
802
ACKNLG
ALArM5
A3HPrC
800
A3HPrC
ACKNGd
CH1
CH2
CH3
CH4
AL1 AL2 AL3 AL4
No LED illuminated indicates no alarms
active and the Alarm Acknowledge Page
is not displayed in the OPERATOR LEVEL.
A flashing LED indicates that an
unacknowledged alarm is active on that
channel. For example, a flashing
AL2
LED indicates an active alarm on
channel 2.
A constant LED indicates that all active
alarms have been acknowledged on that
channel.
CH1
CH2
CH3
CH4
AL1 AL2 AL3 AL4
302
795
Record Faceplate
CH1
CH2
CH3
CH4
AL1 AL2 AL3 AL4
302
795
CH1
CH2
CH3
CH4
AL1 AL2 AL3 AL4
302
795
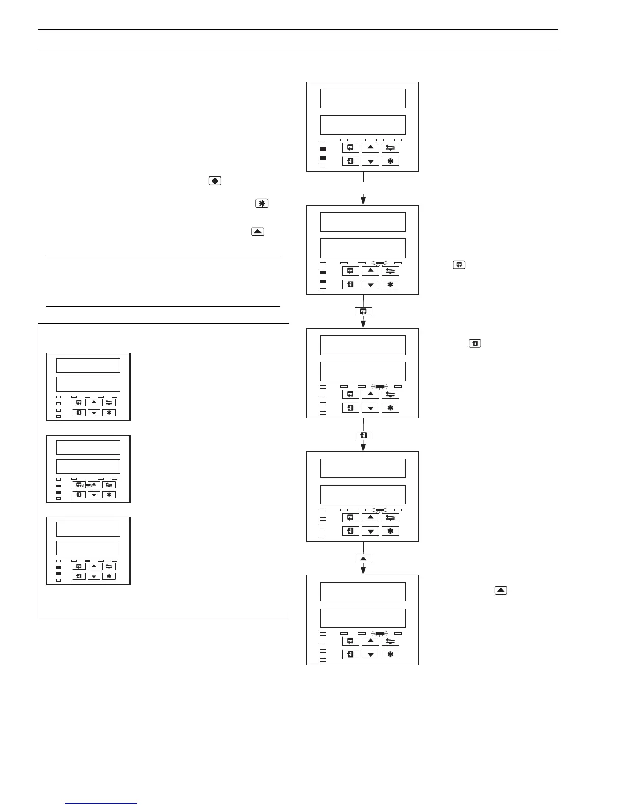
…6 RECORD OPERATION
6.2 Alarm Acknowledge Page
6.2.1 Alarm Indications – Fig. 6.2
The definitions for alarm states (on, off or flashing) are detailed in
Fig. 6.2.
6.2.2 Acknowledging Alarms
Unacknowledged alarms can be acknowledged from the
faceplate controls on the front panel in two ways:
In the
Operating Level – by pressing the key at any frame
(providing the key is programmed for this function – see
Section 5.1 in the
Programming Manual). The key
acknowledges all alarms from either faceplate.
In the
Alarm Acknowledge Page – by pressing the key –
see Section 6.2.3 following.
Note. In the Alarm Acknowledge Page Channel 2 and 3
alarms can be acknowledged only from faceplate 2.
Channel 3 and 4 alarms (if applicable) can be
acknowledged only from faceplate 3.
6.2.3 Using the Alarm Acknowledge Page
No Alarm Active
No LED indicators illuminated.
Alarm Active
AL3 LED indicator flashing,
indicating an active alarm on
channel 3.
Use
key to return to top of
Alarm Acknowledge Page.
Alarm Acknowledge Page
Use the
key to advance to
next frame.
Alarm Identity
Upper display: shows the alarm
identity and type.
Lower Display: shows the trip
level of the alarm identified in
the upper display.
Acknowledge Alarm
Use the
key to
acknowledge the alarm. When
the alarm is acknowledged,
'
ACKNGd' is displayed and a
constant LED indicates the
acknowledged alarm.
If there are more active alarms
on channel 3 the LED continues
to flash until all alarms for that
channel have been
acknowledged.
Fig. 6.2 Alarm LED Indication

Other manuals for ABB C1900 Series

Related product manuals