EasyManua.ls Logo

ABB HT565485 - Table of Tightening Torques

ABB HT565485
142 pages
Print Icon
To Next Page IconTo Next Page
To Next Page IconTo Next Page
To Previous Page IconTo Previous Page
To Previous Page IconTo Previous Page
Loading...
Operation Manual / 4 Product description / A100-L
8
Disassembly and assembly
Page 90 /
111
© Copyright 2016 ABB. All rights reserved.
HZTL4034_EN
Revision G
October 2016
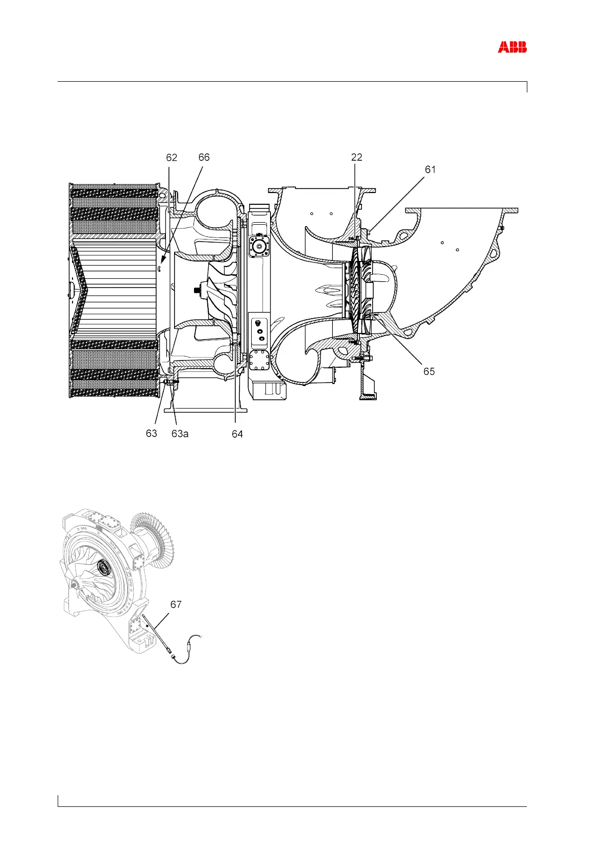
8.16 Table of tightening torques
Figure 56: Overview of tightening torques
Figure 57: Overview of speed sensor tightening torque

Table of Contents

Related product manuals