EasyManua.ls Logo

ABB MD21 - Page 38

ABB MD21
99 pages
Print Icon
To Next Page IconTo Next Page
To Next Page IconTo Next Page
To Previous Page IconTo Previous Page
To Previous Page IconTo Previous Page
Loading...
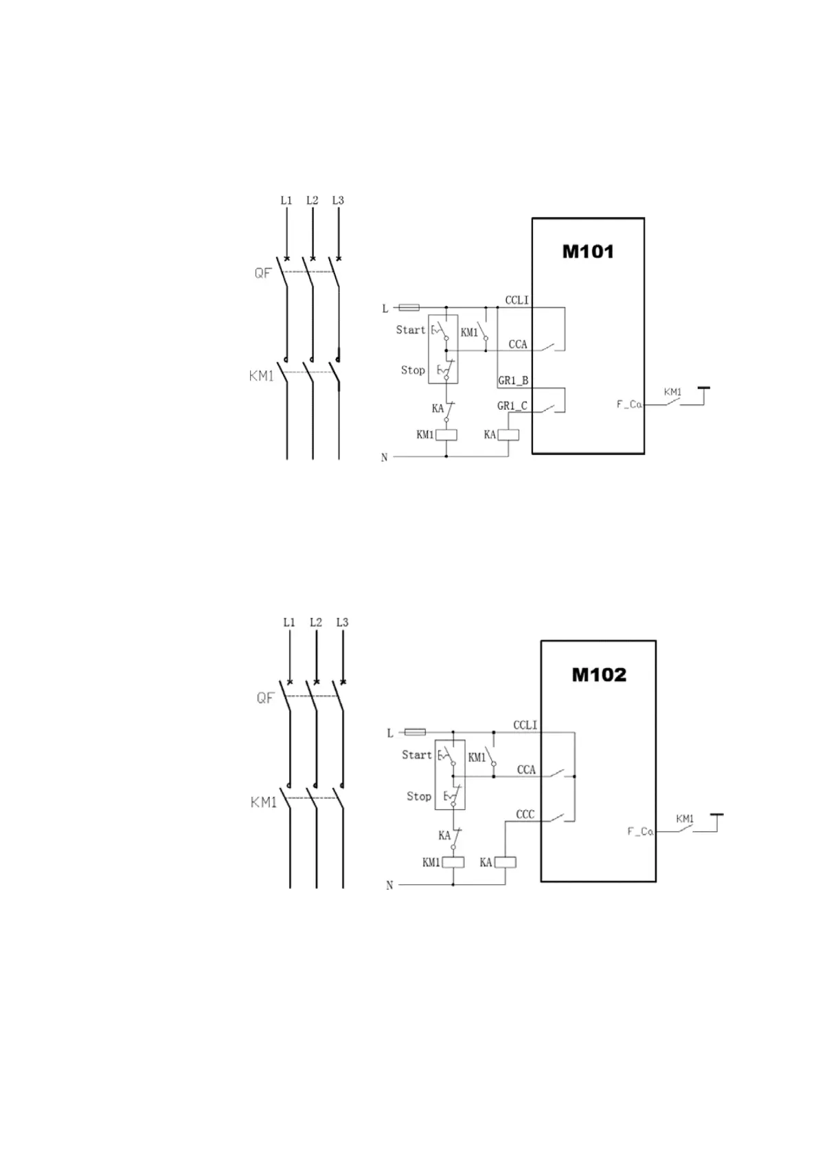
30 Control circuit for contactor feeder/RCU (for M101)
29 Control circuit for contactor feeder/RCU (for M101)
38 M OTO R C O NT R O L A N D P RO TE C T I O N U N I T M1 0X U SE R G U I D E

Table of Contents

Related product manuals