EasyManua.ls Logo

ABB REJ 525 - How to Monitor Recorded Data

ABB REJ 525
40 pages
To Next Page IconTo Next Page
To Next Page IconTo Next Page
To Previous Page IconTo Previous Page
To Previous Page IconTo Previous Page
Loading...
1MRS 752137-MUM
Combined Overcurrent and Earth-Fault Relay
Operator’s Manual
REJ 525
15
)LJ 0HDVXUHPHQWV
To access measured values by activating the monitoring state:
1. Press the [E] and [
] buttons simultaneously to view the measured line currents
on phases L1, L2 and L3 and the measured value of I
0
.
2. To exit, press the [C] button.
The display has to be in the idle mode to be able to activate the monitoring state.
)LJ 0RQLWRULQJVWDWH
The prerequisite for monitoring primary values is that serial parameters M80 and
M83 have been set via serial communication.
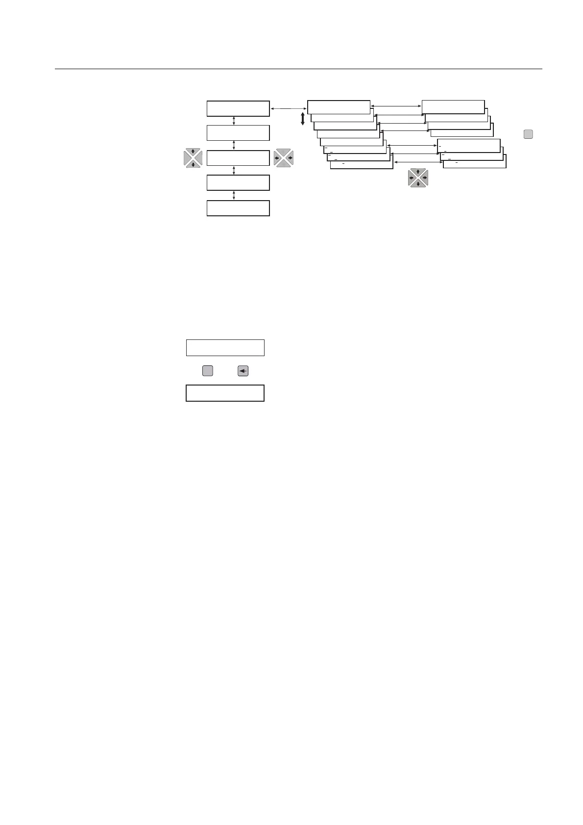
3.2.2.3. How to monitor recorded data
The contents of the event register are found under the main menu group
“RECORDED DATA”.
1. Choose “RECORDED DATA” in the main menu and press the [
] button to
enter the first event.
2. To navigate between the events, use the [
] and [] buttons.
3. To enter or exit a submenu, use the [
] or [] button.
4. To see the maximum pickup value of the phases and the residual current, use the
[
] button.
5. To return the HMI to the idle mode, press the [C] button.
Meas_men_525
C
INFO
I0 In:x.xx
L3 In:x.xx
L1 In:x.xx
L2 In:x.xx
DI %:xxx
I0 A:x.xx
L3 A:x.xx
L2 A:x.xx
L1 A:x.xx
max A:x.xx
n min A:x.xx
I
1 min A:x.xx
I
I
1 min In:x.xx
I
n min In:x.xx
I
max In:x.xx
I
Main Menu
Group Menu
Parameter Menu
Cancel
SETTINGS
CONFIGURATION
MEASUREMENTS
RECORDED DATA
MEASUREMENTS
MEASUREMENTS
MEASUREMENTS
+
- ABB -
E
Monitor_525
L1 X.XX L2 X.XX
L3 X.XX Io X.XX

Related product manuals