EasyManua.ls Logo

ABB VersaRupter - Replacing the Upper Insulator

ABB VersaRupter
83 pages
Print Icon
To Next Page IconTo Next Page
To Next Page IconTo Next Page
To Previous Page IconTo Previous Page
To Previous Page IconTo Previous Page
Loading...
VersaRupter MV Indoor Switch | Installation and Operation Manual 56
Replacement of Parts 38 kV
Replacing the upper insulator
Ensure the VersaRupter is open and remove the operating
mechanism from the VersaRupter.
1. Detach all of the draw bars from the jack shaft.
2. Rotate the jack shaft as if the switch was closing.
3. Disconnect the piston rod from the jackshaft by re-
moving the cir-clip.
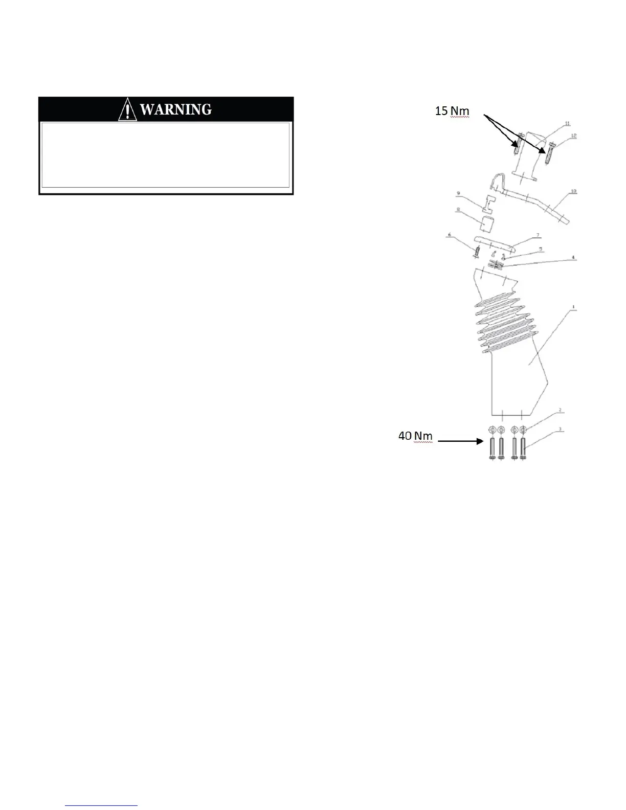
4. Remove the screws, item 3 in figure 129, to remove
the upper insulator.
5. If contact blocks and arc extinguishing chambers are
to be used again, they must be installed on the new
upper insulator before the insulator is installed on the
frame.
6. Replace the operating mechanism and attach all the
drawbars and pistons to the jackshaft with cir-clips.
7. Check the alignment of the contact and arcing blades.
Adjustments can be made by moving the upper insula-
tor.
Figure 129
These operations must be carried out by
specialists only! Improper installation may
result in serious injury or death.

Related product manuals