EasyManua.ls Logo

ABB VersaRupter - Torque Values for Self Tapping Screws

ABB VersaRupter
83 pages
Print Icon
To Next Page IconTo Next Page
To Next Page IconTo Next Page
To Previous Page IconTo Previous Page
To Previous Page IconTo Previous Page
Loading...
VersaRupter MV Indoor Switch | Installation and Operation Manual 58
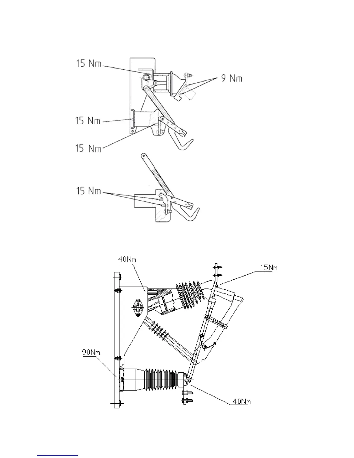
Torque Values for Self Tapping Screws
38 kV
Figure 132
Figure 133
5-27 kV

Related product manuals