EasyManua.ls Logo

Abus TVHD80100 - Page 61

Abus TVHD80100
Print Icon
To Next Page IconTo Next Page
To Next Page IconTo Next Page
To Previous Page IconTo Previous Page
To Previous Page IconTo Previous Page
Loading...
61
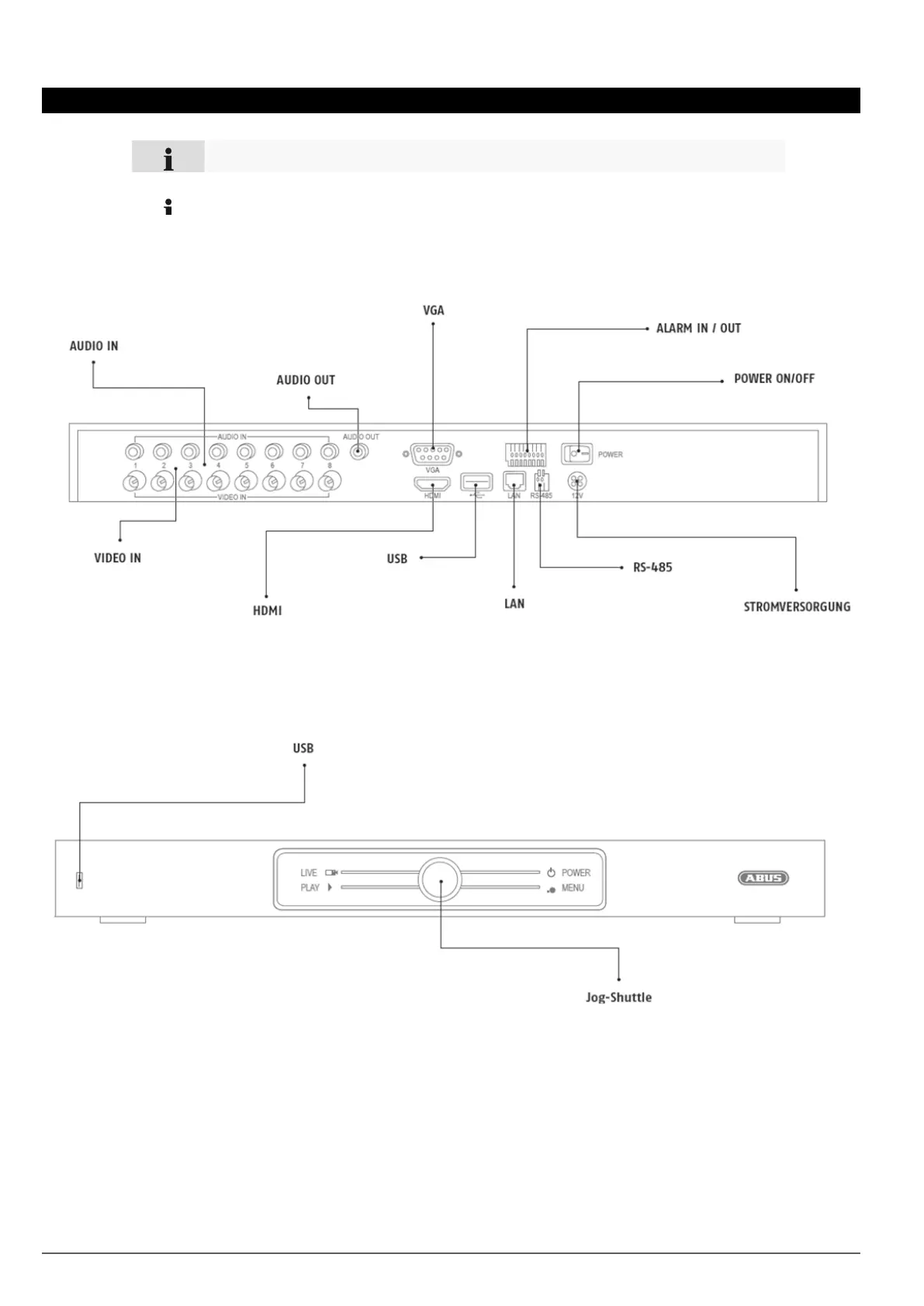
Device overview
Front
See System operation on page 62.
Pay attention to the information in the separate quick guide, plus the notes on the
CD and in the accompanying documentation on Web server controland Clients
Software”. These can be found on the Internet under www.abus.com.
Rearside

Table of Contents

Related product manuals