EasyManua.ls Logo

Accurex XXEW - Overall Wiring Plan View

Default Icon
40 pages
Print Icon
To Next Page IconTo Next Page
To Next Page IconTo Next Page
To Previous Page IconTo Previous Page
To Previous Page IconTo Previous Page
Loading...
29
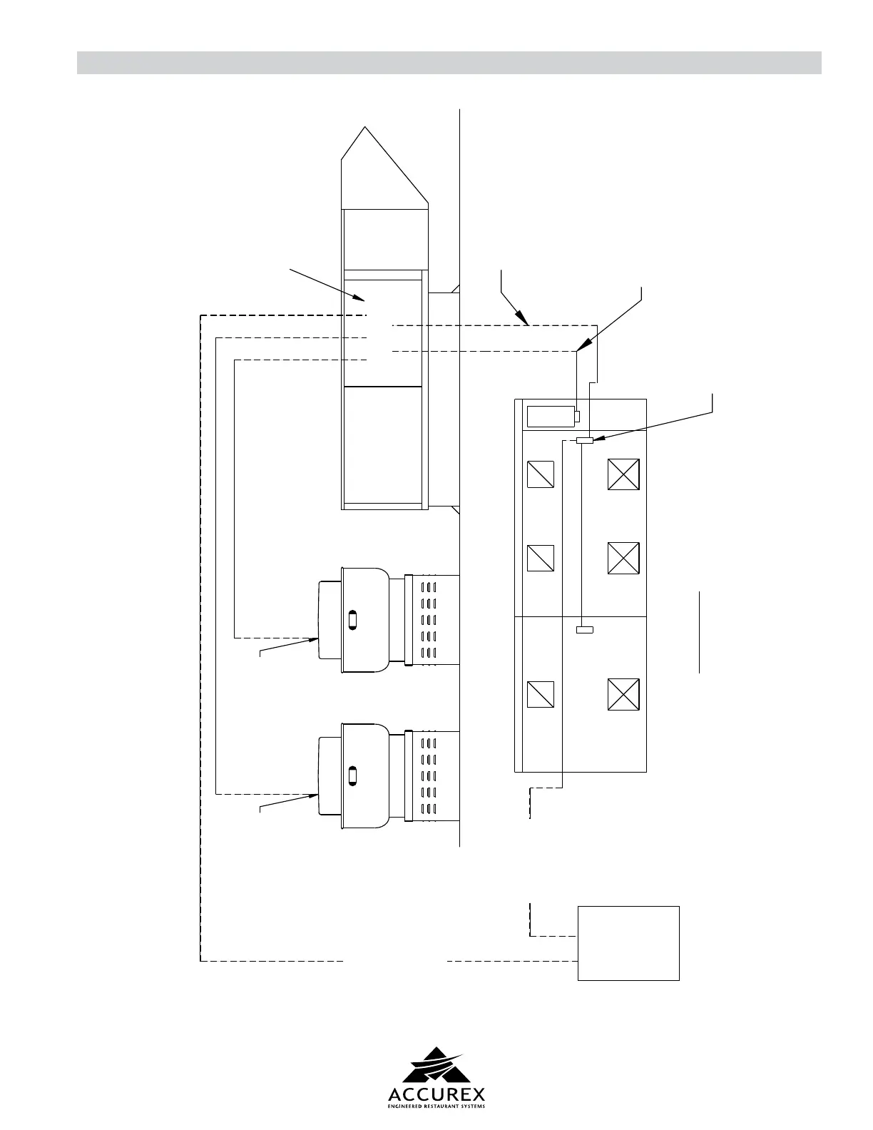
HOOD-1BHOOD-1A
BASIC WIRING DIAGRAM (WIRING BY OTHERS)
FROM MAKE-UP AIR
STARTER #3
TO XRUB FAN
DISCONNECT SWITCH
WIRED THROUGH
BREATHER TUBE ONLY
FROM MAKE-UP AIR
STARTER #2
TO XRUB FAN
DISCONNECT SWITCH
WIRED THROUGH
BREATHER TUBE ONLY
EXHAUST FAN-1A
EXHAUST FAN-1B
POWER
PANEL
SUPPLY POWER TO
JUNCTION BOX
ON HOOD FOR HOOD LIGHTS
JUNCTION BOX ON
TOP OF HOOD FOR
FIELD CONNECTION
OF SUPPLY POWER
TWO (2) CONTROL WIRES FROM
ANSUL SNAP ACTION SWITCH TO
MOTOR CONTROLS AREA.
ELECTRICAL CONTRACTOR TO
PROVIDE HANDIBOX ON SIDE
OF AUTOMAN.
ANSUL AUTOMAN IS NOT AN
ELECTRICAL RATED BOX.
NO CONNECTIONS INSIDE.
FIVE (5) CONTROL WIRES
FROM SWITCH JUNCTION
BOX ON HOOD TO MAKE-UP
AIR CONTROL CENTER
CONTROL CENTER
MAKE-UP AIR UNIT
FIELD WIRING
SUPPLY POWER
TO MAKE-UP AIR
CONTROL CENTER
Overall Wiring Plan View
Fig. 48