EasyManua.ls Logo

Acson A5LC - SLM3 Handset Operation

Acson A5LC
90 pages
Print Icon
To Next Page IconTo Next Page
To Next Page IconTo Next Page
To Previous Page IconTo Previous Page
To Previous Page IconTo Previous Page
Loading...
ASCON Service Guide Book
24
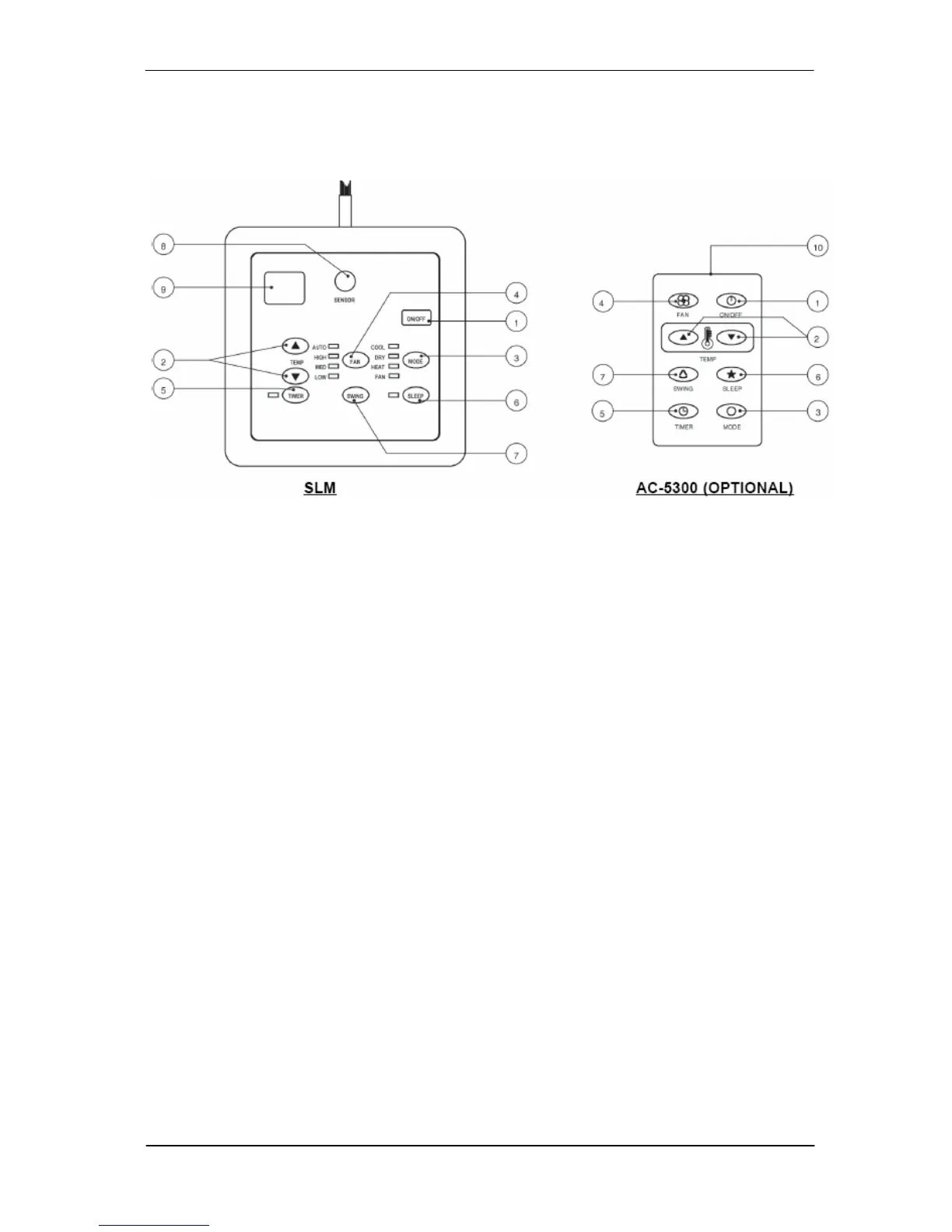
5.6 SLM3
Operation Guide
1. “ON/OFF” Switch
Press to start the air conditioner unit.
Press again to stop the unit.
2. Temperature Setting
Set the desired room temperature.
Press button to increase or decrease the set temperature.
Setting range are between 16°C to 30°C (60°F to 80°F).
3. Operation Modes
Press the “mode” button for select the type of operating mode.
- Cooling Only:
COOL, DRY, FAN
- Heat Pump:
AUTO, COOL, DRY, HEAT, FAN
(AUTO mode is represented by both COOL and HEAT LED light on)
4. Fan Speed Selection
Press the button until the desired fan speed is achieved.
5. Timer
Press the set button to select the switch timer of the air conditioner unit (the setting range is
between1 to 10 hours).

Related product manuals