EasyManua.ls Logo

AEG BE6915001M - Installation du Four

AEG BE6915001M
80 pages
Print Icon
To Next Page IconTo Next Page
To Next Page IconTo Next Page
To Previous Page IconTo Previous Page
To Previous Page IconTo Previous Page
Loading...
FRANÇAIS 49
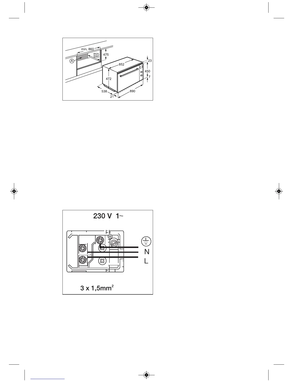
11.3 Installation du four
Pour tous les fours et après avoir
effectué le branchement électrique:
1 Placez le four dans le meuble en vous
assurant que le cordon d’alimentation
n’est pas coincé ni en contact avec
des parties chaudes du four.
2 Unissez le four au meuble à l’aide des
2 vis fournies, en les fixant au meuble
grâce aux trous que l’on peut voir
lorsque la porte est ouverte.
3 Vérifiez que l’ensemble extérieur du
four n’est pas en contact avec les
parois du meuble et qu’il y a au moins
un espace de 2 mm avec les meubles
voisins.
11.4 Informations techniques
Si l'appareil ne fonctionne pas, informez le
Service d’assistance technique du type de
défaillance que vous rencontrez en
indiquant:
1 Le numéro de Série (S-No)
2 Le modèle de l’Appareil (Mod.)
que vous trouverez sur la plaque
signalétique. Cette plaque est située sur la
partie inférieure du four, que vous pourrez
voir en ouvrant la porte.
La colle utilisée pour le revêtement
plastique des meubles doit supporter
des températures supérieures à 85 °C.
11.2 Branchement électrique
L’installateur doit vérifier que:
La tension et la fréquence du réseau
correspondent à celles indiquées sur
la plaque signalétique.
L'installation électrique peut supporter
la puissance maximale indiquée sur la
plaque signalétique.
Après le branchement électrique,
vérifiez le bon fonctionnement de tous
les éléments électriques du four.
Une fois le four installé, vous devrez
pouvoir le débrancher de la prise
électrique.
23
3172742-002 In-Fr. (AEG) 17/10/14 09:50 Página 49

Related product manuals