EasyManua.ls Logo

AFRISO DTA 10 - Page 75

AFRISO DTA 10
Print Icon
To Next Page IconTo Next Page
To Next Page IconTo Next Page
To Previous Page IconTo Previous Page
To Previous Page IconTo Previous Page
Loading...
20
Mise en service
FR
DTA 10
Appuyez 1 fois sur la touche du milieu.
6.2.1 Changer la langue
1. Maintenez enfoncée la touche supérieure jusqu'à ce que le produit
passe à la sélection de la langue.
2. Appuyez sur la touche supérieure ou inférieure pour régler la langue
souhaitée.
3. Passez au menu suivant.
6.2.2 Régler le fluide
Vous pouvez sélectionner l'un des liquides suivants :
• Eau (densité 1 g/cm³)
• Fuel (densité 0,84 g/cm³)
• Autres (densité réglable de 0,5 à 1,5 g/cm³)
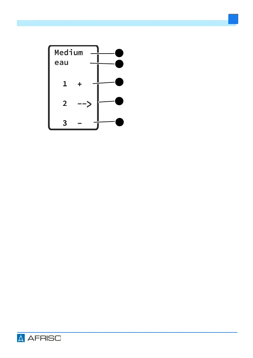
Aperçu affichage
A. Menu actuel
B. Valeur réglée
C. Augmenter la valeur (touche 1)
D. Confirmer la valeur (touche 2)
E. Diminuer la valeur (touche 3)
A
B
C
D
E

Related product manuals