EasyManua.ls Logo

Alfa Laval CPM-2 - Parts Lists and Service Kit; Cpm-2

Alfa Laval CPM-2
36 pages
Print Icon
To Next Page IconTo Next Page
To Next Page IconTo Next Page
To Previous Page IconTo Previous Page
To Previous Page IconTo Previous Page
Loading...
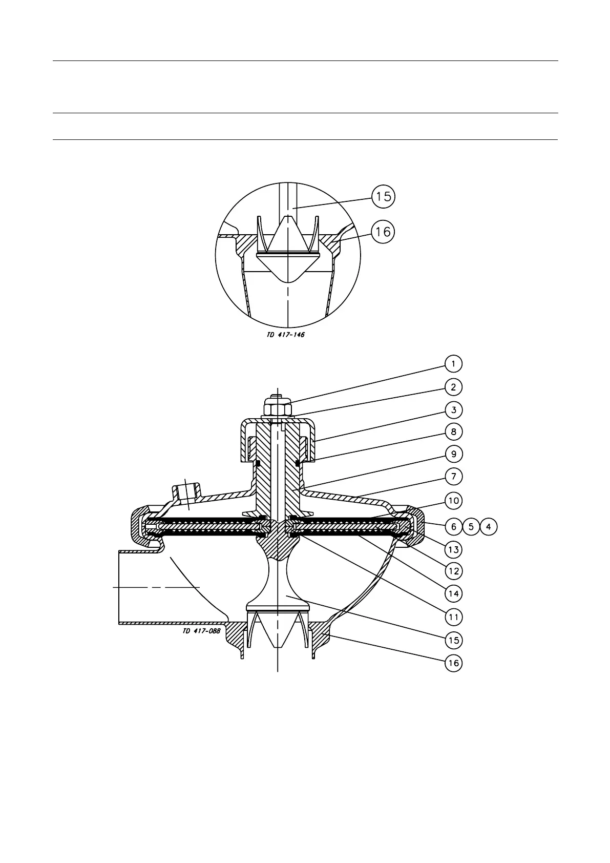
7Partslistsandservicekit
Thedrawingandthepartslistincludeallitems.
7.1CPM-2
29

Related product manuals