EasyManua.ls Logo

Alfa Laval SRC PN10 - 7 Drawings

Alfa Laval SRC PN10
32 pages
Print Icon
To Next Page IconTo Next Page
To Next Page IconTo Next Page
To Previous Page IconTo Previous Page
To Previous Page IconTo Previous Page
Loading...
7Drawings
It is important to observe the technical data during installation, operation and maintenance.
Inform the personnel about the technical data.
NO = Normally open. NC = Normally closed.
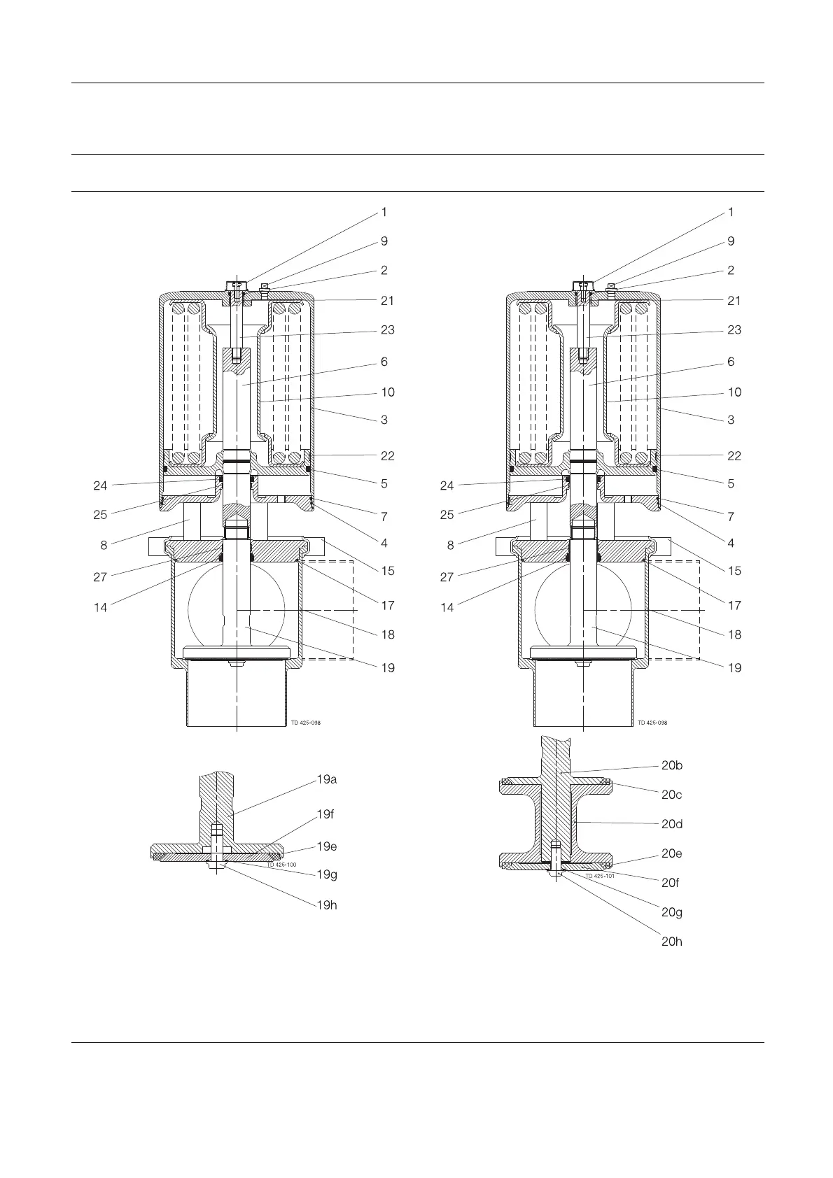
7.1 Drawings
DN125-150 shut-off valve,
see section 6.6
DN125-150 change-over valve,
see section 6.7
27

Related product manuals