EasyManua.ls Logo

Allen-Bradley PowerFlex 755TL - Motor Side Inverter; Shipping Split Section

Allen-Bradley PowerFlex 755TL
192 pages
Print Icon
To Next Page IconTo Next Page
To Next Page IconTo Next Page
To Previous Page IconTo Previous Page
To Previous Page IconTo Previous Page
Loading...
68 Rockwell Automation Publication 750-IN100B-EN-P - July 2017
Chapter 4 Mechanical and Electrical Installation
PowerFlex 755TM Common Bus Inverters
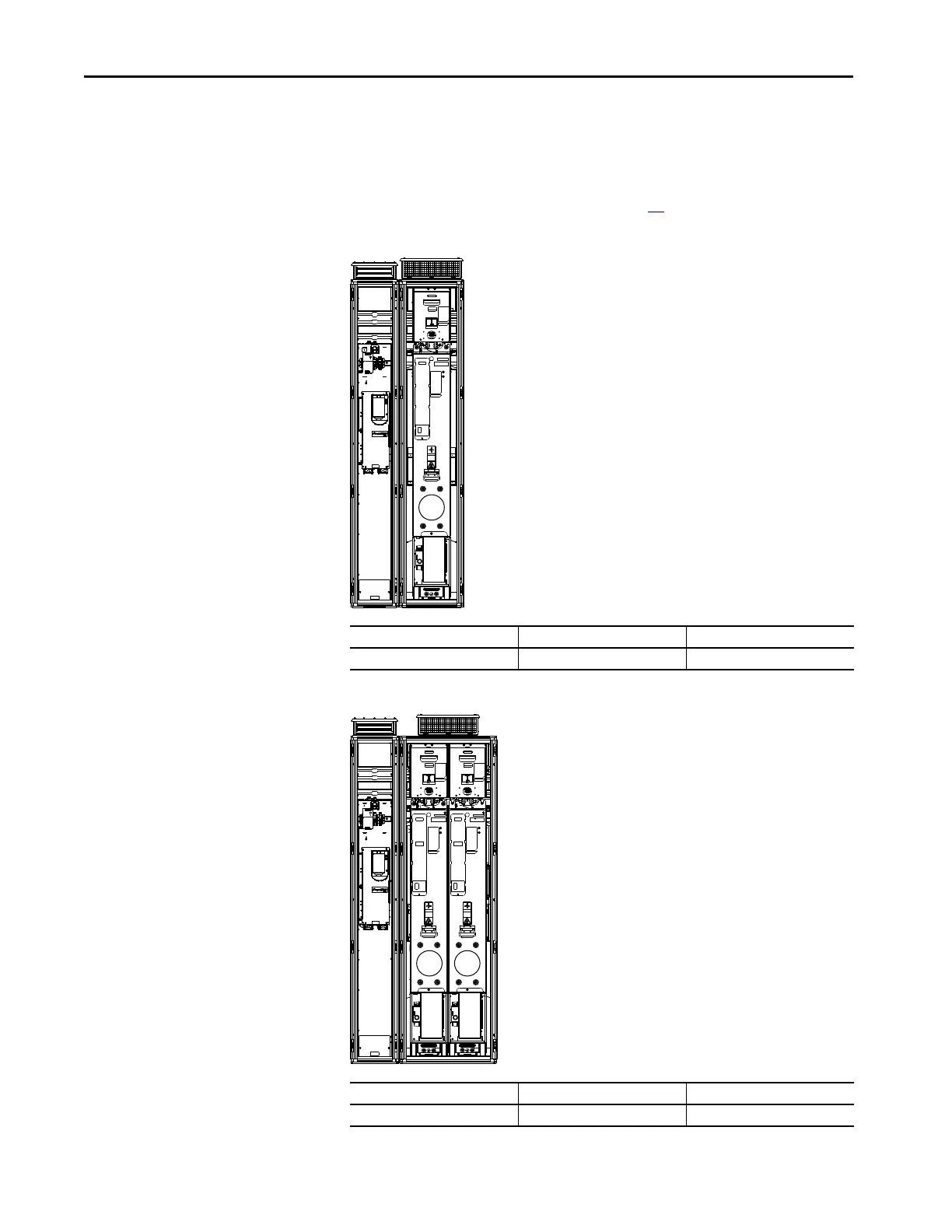
This section lists the motor side inverters that you must remove to install the
product. For instructions on how to remove this component from the
enclosure, see Remove Power Module on page 73
.
Figure 29 - Frame 8 Common Bus Inverter
Figure 30 - Frame 9 Common Bus Inverter
Module Type Remove Position No. Shipping Split Section
Motor side inverter M0 Section 1 of 1
Module Type Remove Position No. Shipping Split Section
Motor side inverter M0, M1 Section 1 of 1
M0
M1M0

Table of Contents

Other manuals for Allen-Bradley PowerFlex 755TL

Related product manuals