EasyManua.ls Logo

Alpha-InnoTec L12 SPLIT - Electrical Component Locations; HM 8-12 SPLIT Component Layout

Alpha-InnoTec L12 SPLIT
112 pages
Print Icon
To Next Page IconTo Next Page
To Next Page IconTo Next Page
To Previous Page IconTo Previous Page
To Previous Page IconTo Previous Page
Loading...
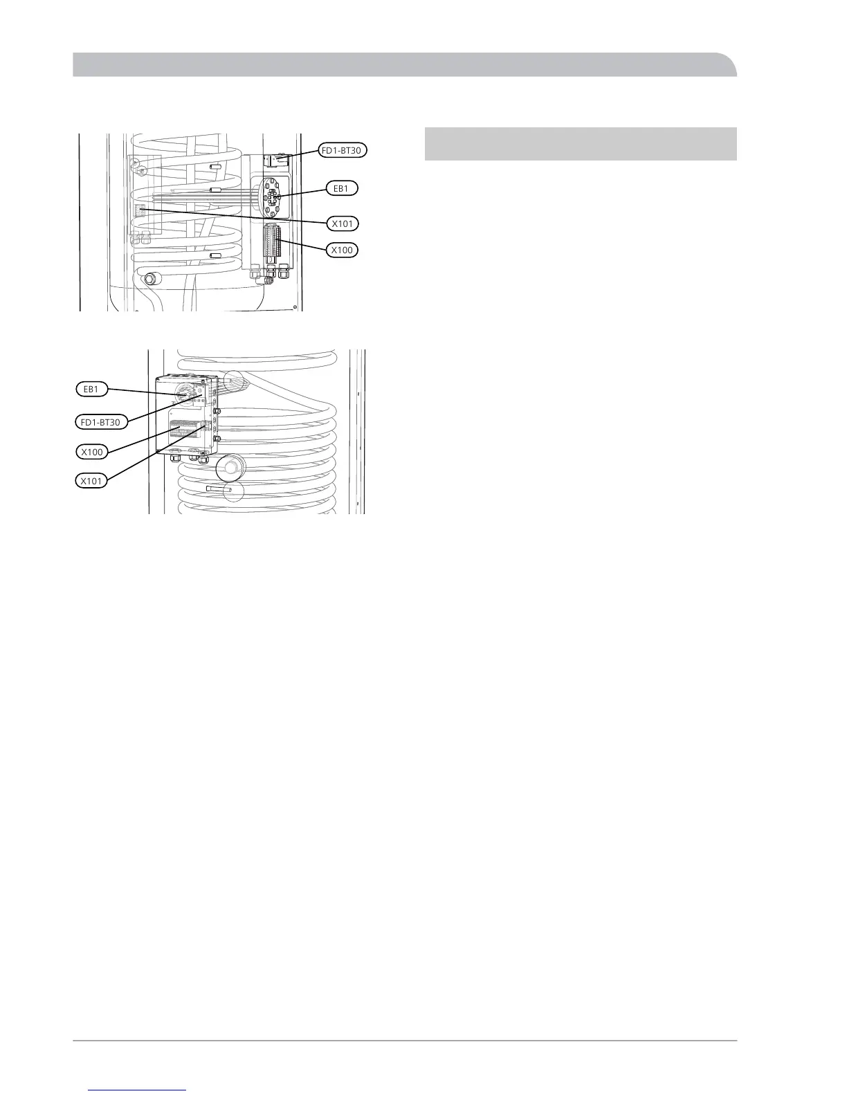
WWS 300 SPLIT
LEK
FD1-BT30
EB1
X100
X101
WWS 500 SPLIT
LEK
EB1
FD1-BT30
X100
X101
Explanation
Scale length of
conductor (mm)
TypeDesigna-
tion
-Cable glandUB1,2,3
18Terminal block, incoming
mains supply
X1
14Terminal block, L8 SPLIT/L12
SPLIT
X2
12Terminal block, communica-
tion, L8 SPLIT/L12 SPLIT
9Terminal block, external addi-
tion
X3
12Terminal block, external im-
mersion heater and temperat-
ure limiter/thermostat emer-
gency mode FD1-BT30.
X4
12Terminal blockX100
9Terminal blockX101
-SwitchSF1
-Miniature circuit breaker,
control system
FA1
-Miniature circuit breaker,
outdoor unit
FA2
-Miniature circuit breaker, ex-
ternal immersion heater
FA3
SPLIT34
For the Installer
Electrical installation

Table of Contents

Related product manuals