EasyManua.ls Logo

Alpine DVA-9861 - Remote Control; Controls on Remote Control

Alpine DVA-9861
73 pages
Print Icon
To Next Page IconTo Next Page
To Next Page IconTo Next Page
To Previous Page IconTo Previous Page
To Previous Page IconTo Previous Page
Loading...
49-EN
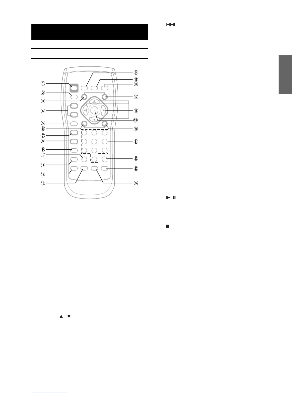
Controls on Remote Control
A PWR Button
Turns the power ON and OFF.
B SRC Button
Selects the audio source.
C DN Button
D VOLUME / Button
Increase or decreases the volume level.
E RETURN Button
DVD/Video CD (PBC ON) mode: Returns to the previous
display. (Does not return in some discs.)
F Button
Radio mode:SEEK (DN) button
G / Button
Switches between play and pause.
H Button
Performs stop.
I MENU Button
J CLR Button
Removes numbers (one character at a time) that have been
selected and input.
Press and hold for 2 seconds. All the characters which were
selected and input are erased, or the input mode is
canceled.
Remote Control
Radio mode: Selects, in descending order, stations
programmed into the radio’s presets.
MP3/WMA mode:
Folder Select (DN) Button selects the folder.
DVD mode: Selects program or playlist, in descending
order (DVD-VR only).
Changer mode:
DISC Select (DN) Button selects a disc in
descending order.
MP3 compatible CD changer mode:
Pressing and holding the DISC Select (DN)
button will select a disc in descending order.
iPod mode: Selects playlist/artist/album in descending
order.
CD /Changer mode:
Press the button to go back to the beginning
of the current track. Press and hold to fast
reverse.
MP3/WMA/iPod MODE:
Press the button to go back to the beginning
of the current file. Press and hold to fast
reverse.
DVD/Video CD: Move to the desired position on the disc.
During playback, press and hold for
more than 1 second to reverse the disc
at double speed. Hold for more than 5
seconds to reverse the disc at 8 times
the normal speed. Hold for more than 10
seconds to reverse the disc at 21 times
the normal speed. However, during
playback or pause, pressing and
holding for at least 1 second will fast
reverse the disc at 21 times the normal
speed (DVD Audio (VOFF mode)only).
When pressed and held in while in the
pause mode, the disc is played in
reverse slow motion at 1/8th the normal
speed. When held in for 5 more
seconds, the reverse slow motion speed
switches to 1/2 the normal speed. (only
DVD Video).
During pause, each time press once is
played back frame by frame (only DVD
Video).
SEARCH Button
MP3/WMA mode: Pressing more than 2 seconds, activates
the Folder/File Name Search mode.
DVD/Video CD: Pressing once sets the PRE- STOP;
Pressing twice sets stop.
DVD mode: Shows the menu display (DVD Video,
DVD Audio only).
Shows the playlist search list screen
(DVD-VR only).

Table of Contents

Related product manuals