EasyManua.ls Logo

Alto-Shaam HALO HEAT ECOSMART 500-1D

Alto-Shaam HALO HEAT ECOSMART 500-1D
28 pages
To Next Page IconTo Next Page
To Next Page IconTo Next Page
To Previous Page IconTo Previous Page
To Previous Page IconTo Previous Page
Loading...
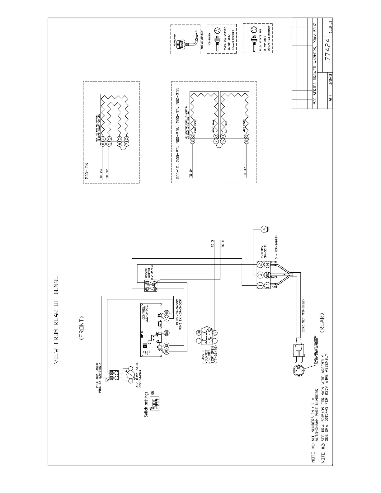
MN-29742 (Rev. 6) 02/16 Drawer Warmers 25







 














Related product manuals