EasyManua.ls Logo

Alto-Shaam QC3-3 - Page 46

Alto-Shaam QC3-3
61 pages
To Next Page IconTo Next Page
To Next Page IconTo Next Page
To Previous Page IconTo Previous Page
To Previous Page IconTo Previous Page
Loading...
46 MN-38954 • Rev 0 • 04/17 • Quickchillers
Service
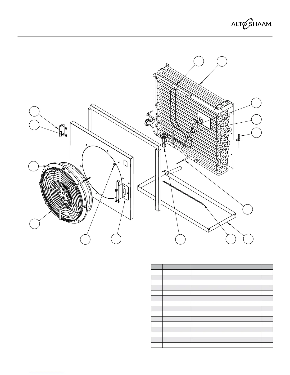
QC3-20 Coil view
1
2
3
4
5
6
7
8
9
10
11
12
13
14
15
Item Part Description Qty.
1 TE-35100 Tee, Copper, 1/2 x 1/2 x 1/4 2
2 RE-29905 Coil 1
3 PR-35771 Probe Receptacle Assembly 1
4 PR-36201 Probe, Product 1
5 SN-33541 Sensor, Air 1
6 PR-37483 Coil Sensor/, Defrost/Sensor 1
7 PN-29943 Drip Pan 1
8 WI-35157 Wire, 11" (279mm) Loop Drain Heater 1
9 VA-29900 Expansion Valve 1
10 LT-29940 Latch, Plate for Fan Door 1
11 BU-29937 Bushing, Nylon 1
12 FA-29945 Fan 1
13 SC-29935 Bolt, 1/4-20 19
14 SC-29936 Bolt, 1/4-20 x 3/8" 8
15 HG-29938 Hinge Assembly, 2" x 3" Lift Off Left 2

Related product manuals