EasyManua.ls Logo

American Standard 7020105 - INSTALLATION INSTRUCTIONS; Install With Escutcheon; Install Without Escutcheon

American Standard 7020105
21 pages
Print Icon
To Next Page IconTo Next Page
To Next Page IconTo Next Page
To Previous Page IconTo Previous Page
To Previous Page IconTo Previous Page
Loading...
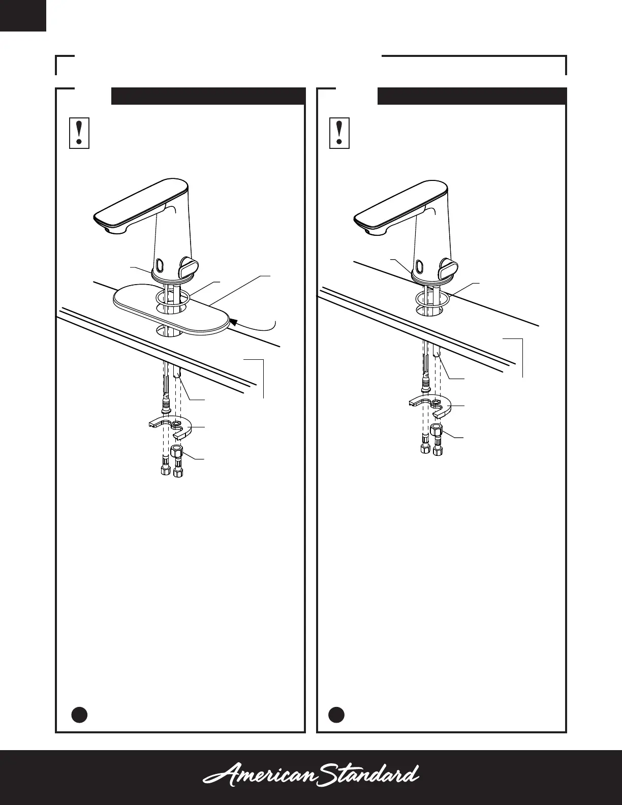
INSTALLATION INSTRUCTIONS
1A 1B
Insert Supply Lines, Power Chord, and Mounting
Shank through the counter top.
Push WASHER (2) on to MOUNTING SHANK (3).
Thread NUT (1) on to MOUTNING SHANK (3).
Ensure that O-RING (4) is properly seated
between the faucet base and the counter top
before tightening NUT (1).
INSTALL WITH ESCUTCHEON
INSTALL WITHOUT ESCUTCHEON
A A
Turn off hot and cold water
supplies before beginning.
SINK OR
MOUNTING
SURFACE
PUTTY
3
1
2
FAUCET
BASE
5
4
SINK OR
MOUNTING
SURFACE
3
1
2
FAUCET
BASE
4
Insert Supply Line(s), Power Chord, and Mounting
Shank through ESCUTCHEON (5) and the
counter top.
• Push WASHER (2) on to MOUNTING SHANK (3).
• Thread NUT (1) on to MOUNTING SHNAK (3).
Ensure that O-RING (4) is properly seated between
the faucet base and the ESCUTCHEON (5) before
tightening NUT (1).
Turn off hot and cold water
supplies before beginning.