EasyManua.ls Logo

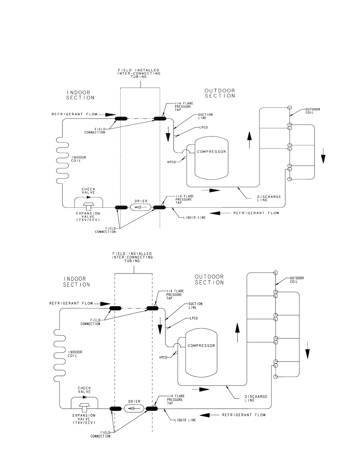
Ameristar M4AC6 - Refrigeration Circuits; Refrigeration Circuit for 6018 & 6024 Models; Refrigeration Circuit for 6030 & 6036 Models

Default Icon
24 pages
Print Icon
To Next Page IconTo Next Page
To Next Page IconTo Next Page
To Previous Page IconTo Previous Page
To Previous Page IconTo Previous Page
Loading...
88-M4PW003-1B-EN 21
PRINTED FROM D157394P01
6018 & 6024 Models
6030 & 6036 Models
PRINTED FROM D158514P01
SECTION 16. Refrigeration Circuits

Related product manuals