EasyManua.ls Logo

AMERITRON AL-82 - Installation; Transformer Installation

AMERITRON AL-82
15 pages
Print Icon
To Next Page IconTo Next Page
To Next Page IconTo Next Page
To Previous Page IconTo Previous Page
To Previous Page IconTo Previous Page
Loading...
METERING FUNCTIONS
The AL-82 has two illuminated meters. The Grid Current meter provides
a continuous indication of the two 3-500z grid current. This exclusive
feature of Ameritron amplifiers indicates proper amplifier operation better
than any other parameter. Do not exceed 300 mA on this meter during
normal operation of this amplifier. The other meter reads Plate Voltage
(HV), Plate Current (Ip), Peak RF Watts (PO) and ALC. These functions
are selected with the Multimeter Switch.
Plate Voltage (HV): Read DC Plate Voltage on the 4000 volt scale. This
scale is 100 volts per division. Normal voltages are 3600 volts no load,
3300 volts full load.
Peak RF Watts (PO): Read Peak RF Watts on the 2000 watt scale. This
scale has 50 watt divisions below 1000 watts and 100 watt divisions above
1000 watts.
NOTE: This circuit uses an emitter follower to charge a capacitor to
the peak envelope voltage detected by the ALC/Power Board. Accurate
peak envelope power readings are given when the amplifier is connected
to a 50 ohm nonreactive load. If the amplifier is used with a mismatched
load, the power meter will read higher or lower than normal by a ratio up
to the value of the SWR. Potentiometer R5 on the Meter Board (50-01140-
1) adjusts the calibration of the power meter.
Plate Current (Ip): Read Plate current on the 1000 mA scale. This scale is
25 mA per division. The maximum operating current rating of the 3-500z
is 400 mA SSB or 900
mA CW.
ALC: Indicates a relative drive level (average, not PEP) that can be
estimated by dividing the Peak RF Watts scale by 10.
Remove the cover of the amplifier. Remove the package that is in the
plate transformer area. This package contains the chimneys for the AL-
82. There is a small bag that contains the fuses, fuse caps and the
remainder of the chassis screws wrapped in the packing material around
the anode connector. Remove the top 7/16" nuts from the four
transformer mounting bolts inside of the amplifier. Carefully remove the
transformer from its shipping carton.
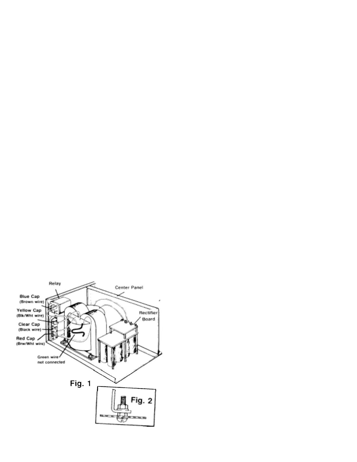
Place the transformer on the four
1
/4-20 mounting bolts. Use care because
the transformer is heavy. The side with the two high voltage secondary
RED leads must be adjacent to the center panel(see Fig. 1). Now place a
7/16" nut on each bolt (see Fig. 2). Snug the nuts down manually. Do not
tighten with a ratchet wrench.
Remove the brass
1
/4" hex nuts and the top flat washer from the two 6-32
screws on the rectifier board (see Fig. 1). Install the RED lead ring
terminals on the screws and replace the flat washers and
1
/4" hex nuts.
Position the wires so that the black insulated areas are at least
1
/4" from
each other and any metal objects. Now tighten the
1
/4" hex nuts.
For 240V Operation (factory wired):
The four primary leads have colored plastic insulating boots over the quick
disconnect terminals. Slide these back prior to installing the leads. Install
the color coded boots as follows:(see Fig. 1)NOTE: Japanese export
model (AL-82J) 82J) should follow the 240V operation steps to properly
connect their transformer. The AL-82J is supplied with a special
transformer for 200V operation.
1. BLUE (Brown wire) to the top relay terminal
2. YELLOW (Black/White) to the top terminal of terminal block
3. CLEAR (Black wire) to the second terminal of terminal block
4. RED
(
Brn
/
Wht
)
to the bottom terminal of terminal bloc
k
Now slide the colored insulating boots back over the terminals. NOTE:
The green wire is not used for 240V operation. There is no green wire on
the AL-82J export model transformer.
Important: The leads must be in the positions indicated by the color coded
insulating boots (see Fig. 1) for 240V operation, or for 200V operation in
Japan. For 220V operation, see page 5. Caution: Do not use the 220V
wiring unless the line voltage is always below 220 VAC. The Standard
USA voltage is 240 VAC, not 220.
INSTALLATION
TRANSFORMER INSTALLATION

Related product manuals