EasyManua.ls Logo

AMI NGX MINI 2 - Currency Components

AMI NGX MINI 2
48 pages
Print Icon
To Next Page IconTo Next Page
To Next Page IconTo Next Page
To Previous Page IconTo Previous Page
To Previous Page IconTo Previous Page
Loading...
NGX Mini 2 Jukebox 37 22022623 Rev B
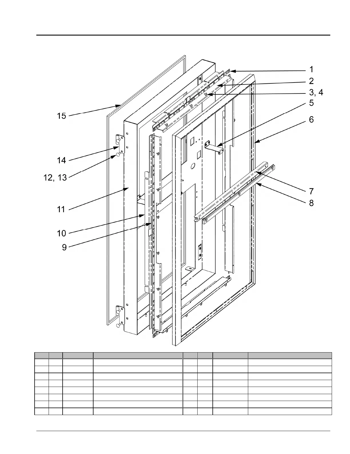
Front Door
Frame and LED Lighting
Ref
Qty
Part #
Description
Ref.
Qty.
Part #
Description
1
2
41024201
CBA
-
LED (Horiz)
9
4
41024202
CBA
-
LED (Vert)
2
2
34115201
Bracket
-
Mounting LED (Horiz)
10
2
35115401
Bracket
-
Mounting LED (Vert)
3
20
28277901
#
M3x6mm
PPHMS
11
1
61209801
Frame Assy
-
Door
4
20
70120511
Washer
-
Nylon
1
2
4
89974808
#10
-
32x1/2 Carriage Bolt
5
2
22339301
Bra
cket
-
Mounting
-
Diffuser
13
4
87844400
#10
-
32 KEPS Hex MS Nut
6
1
41023803
Diffuser
14
2
22323002
Hinge
-
Female
7
1
22339201
Bracket
-
Seam
15
8.4 Ft
00710206
Gasket
-
Foam Tape
8
1
22339101
Spacer Block
-
Seam

Related product manuals