EasyManua.ls Logo

AMI NGX MINI 2 - Page 42

AMI NGX MINI 2
48 pages
Print Icon
To Next Page IconTo Next Page
To Next Page IconTo Next Page
To Previous Page IconTo Previous Page
To Previous Page IconTo Previous Page
Loading...
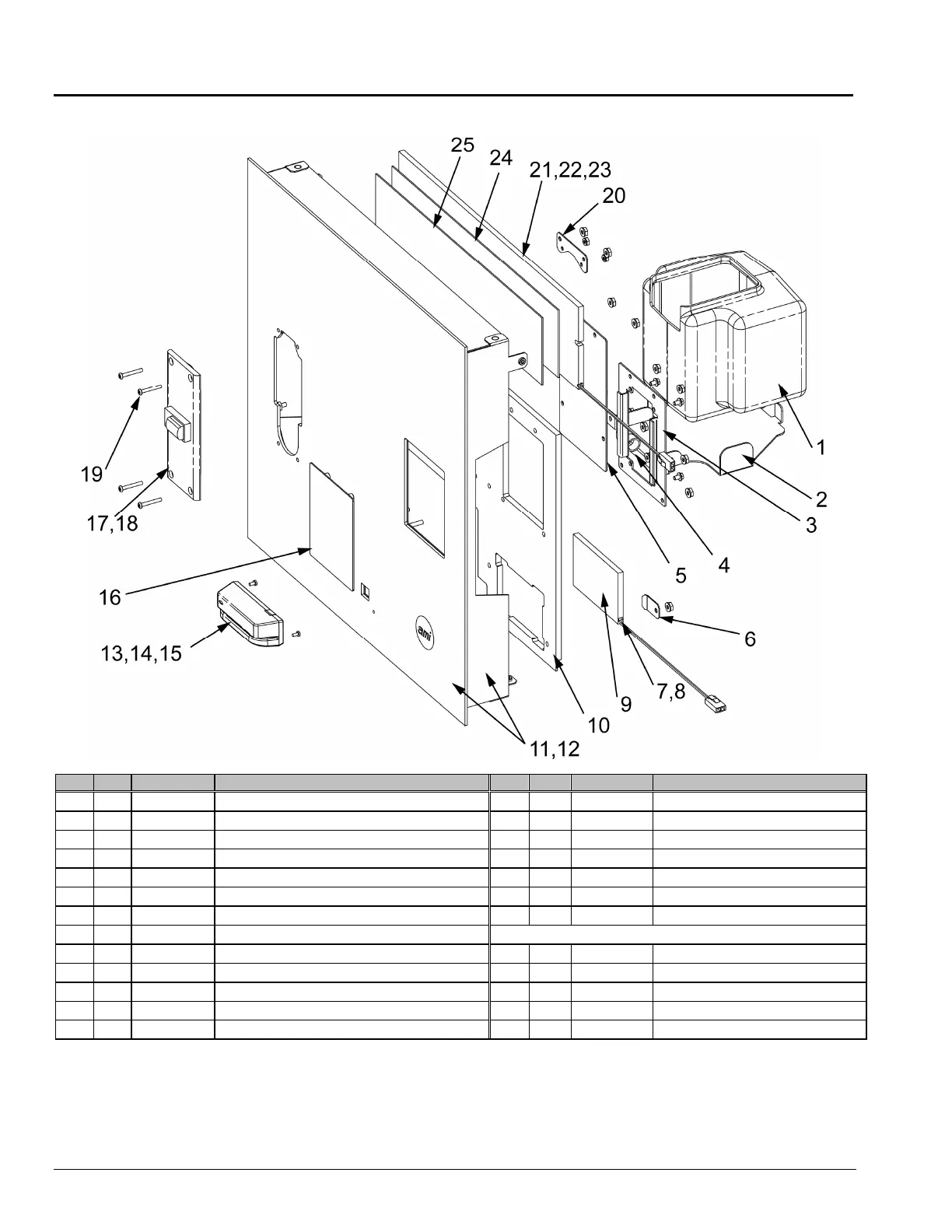
22022623 Rev B 40 NGX Mini 2 Jukebox
Currency Components
Non-U.S – with NRI Coin Acceptor (BA Ready)
Ref
Qty
Part #
Description
Ref.
Qty.
Part #
Description
1
1
40990303
Coin Box
1
4
1
PM0725
-
01
Credit Card Reader Label
2
1
40992402
Retainer
-
Coin Box (Side Position)
15
2
28277903
#M3x16 PPHMS
3
1
34105101
Coin Mech Plate
16
1
34105103
Blockout
-
Bill Acceptor
4
1
70093401
Cable Clamp
17
1
See Note
Coin Accept
or
5
1
34105104
Plate
-
Blocking
18
1
22132259
Harness
-
Coin Mech, NRI
6
1
22339001
Clip
-
Retainer, Panel
19
4
70134153
#6
-
32x1 Pin
-
in
-
Torx Screw
7
1
34105809
CBA Backlight LED
20
1
22325101
Plate
-
Mounting NRI Coin Mech
8
1
22145630
Harness
-
LED Board
These
parts make up the backlit marquee
9
1
22325409
Panel
-
Lighting (AMI)
21
1
22325406
Panel
-
Lighting Marquee
10
1
41023401
Spacer
-
Currency Panel
22
1
34105810
CBA
-
Light Panel
11
Note
41023306
Panel Assy
-
Single BA, NRI Coin, Card
23
1
22145630
Harness
-
LED B
oard
1
2
Note
41023305
Panel Assy
-
Single BA, NRI Coin, No Card
24
1
34114903
Panel
-
Backer (Clear)
13
1
2218535
0
Credit Card Reader
25
1
34114901
Panel
-
Graphic (BarLink)
Note: Item 11 – one used on BA Ready configuration with NRI coin acceptor and card reader.
Item 12 – one used on BA Ready configuration with NRI coin acceptor, without card reader.
Item 17 – 22178603 South Africa 22178612 Canada
22178613 New Zealand 22178614 Australia
22178615 Euro

Related product manuals