EasyManua.ls Logo

Aqua PH-02713 - Page 42

Default Icon
52 pages
Print Icon
To Next Page IconTo Next Page
To Next Page IconTo Next Page
To Previous Page IconTo Previous Page
To Previous Page IconTo Previous Page
Loading...
AIR TO WATER POOL HEAT PUMP VERTICLE PH SERIES
42/ 52 VERSION 19 , RELEASE 29th June 2020
42
52
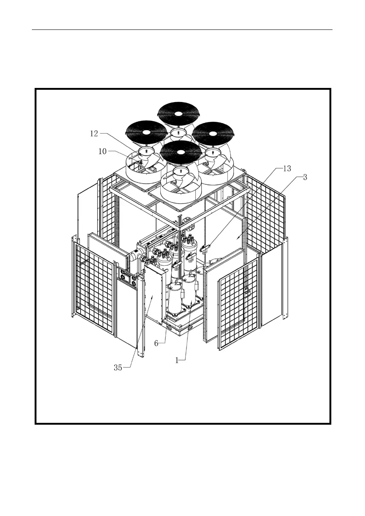
Applicable model: PH-02720

Related product manuals