EasyManua.ls Logo

Armitage Shanks Markwik 21 - Page 14

Armitage Shanks Markwik 21
28 pages
Print Icon
To Next Page IconTo Next Page
To Next Page IconTo Next Page
To Previous Page IconTo Previous Page
To Previous Page IconTo Previous Page
Loading...
14
∆t>5
ºC
is supply temperature
same as previous audit?
YES
YES
YES
YES
YES
YES
YES
NO
NO
NO
NO
NO
NO
record stable state supply
temperature (5 - 20
C)
º
cold <20
in 2 minutes
ºC
supply pressures
are appropriate
hot>55
in 1 minute
ºC
record stable state supply
temperature (55 - 65
ºC)
is supply temperature
same as previous audit?
insignificant change
difference <5
C
∆t
º
>65
ºC
temporary change
of known cause
long term or permanent
change - consider
recommisioning of thermo
fitting(s)
implications to terminal fittings
investigate system issue
no action.
retest when
conditions normalise
no action
go to D-08 field test audit 9.4
or commissioning 9.2
follow
commissioning
instructions see
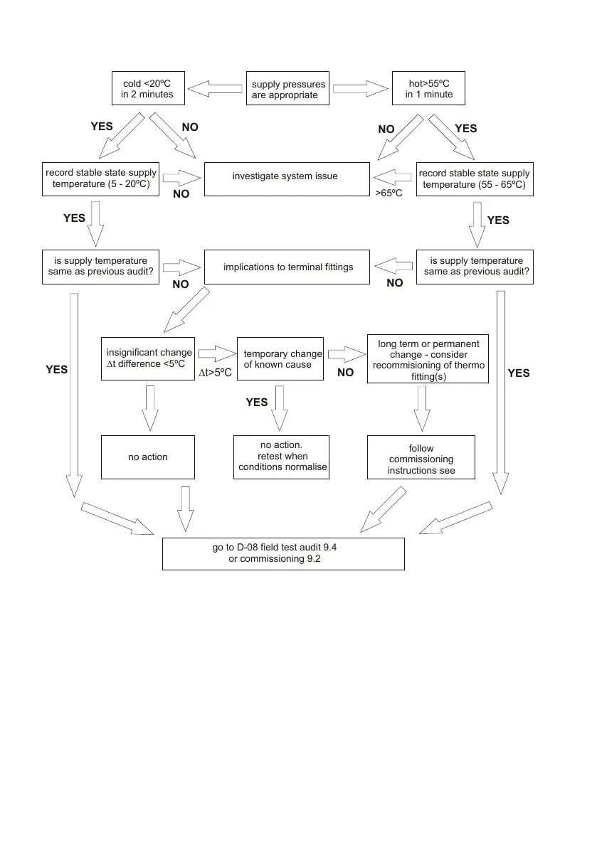
9.4 Audit procedure (see decision tree FC2)
• Verify the water supplies conditions are similar to when the product was commissioned i.e. inlet ∆t
as previous + / - 5C°
Note: If inlet ∆t change is > 5C consider the cause of the change, If it is seen as a long term or
permanent change, re-commission the product. If however, it is only a temporary change, retest when
normal conditions resume.
• If inlet ∆t differs from the commissioning ∆t by < 5C° carry out eld ‘cold water isolation’ (CWI) test
as D-08: 2009. See 9.5 in eld Cold Water Isolation test failure.
• Pass - restore the cold supply and move on to check the mix temperature.
Note: If the product fails CWI test, refer to 9.5 and then re-commission the valve.
• Mixed Temperature is as commissioned ±2C°, Accept and record the temperature.
Note: If mixed Deviation > ±2C° (1st instance) reset mix as instructions and redo the test from start.
See 12.1 Adjustment of the mix temperature.
• 2nd & subsequent instances follow maintenance instructions.
Audit of Supplies To Fittings (FC3)

Related product manuals