EasyManua.ls Logo

Ascon tecnologic K49 - Page 16

Ascon tecnologic K49
36 pages
Print Icon
To Next Page IconTo Next Page
To Next Page IconTo Next Page
To Previous Page IconTo Previous Page
To Previous Page IconTo Previous Page
Loading...
Ascon Tecnologic - K Series - ENGINEERING MANUAL - Vr. 9.0 PAG. 16
be forced to be equal to the active set point;
• When [80] SP.rt = trin, the remote set point
will be forced to zero;
• When [80] SP.rt = PErc, the remote set point
will be forced to zero.
2. The SP2, SP3 and SP4 selection is possible only
if the relative set point is enabled (see [75] nSP
parameter).
[80] SP.rt - Remote set point type
These instruments will communicate with each other, using RS
485 serial interface without a PC. An instrument can be set
as a Master while the others are (as usual) Slave units. The
Master unit can send his operative set point to the slave units.
In this way, for example, it is possible to change simultaneously
the set point of 20 instruments by changing the set point of the
master unit (e.g. hot runner application).
SP.rt parameter defines how the slave units will use the
value coming from serial link.
The [125] tr.SP [Selection of the value to be retransmitted
(Master)] parameter allows to define the value sent by
master unit.
Available: When at least one output is e programmed as
control output and the serial interface is present.
Range: rSP = The value coming from serial link is used
as remote set point (RSP);
trin = The value coming from serial link will be
algebraically added to the local set point
selected by SPAt and the sum becomes the
operative set point;
PErc = The value coming from serial will be scaled
on the input range and this value will be
used as remote set point.
Note: An [80] SPrt change produces the following actions:
• When [80] SP.rt = rSP, the remote set point will be
forced to be equal to the active set point;
• When [80] SP.rt = trin, the remote set point will be
forced to zero;
• When [80] SP.rt = PErc, the remote set point will
be forced to zero
Example: A 6 zone reflow-oven for PCB .
The master unit sends its set point value to 5 other
zones (slave controllers);
The Slave zones use it as a set point trim;
The first zone is the master zone and it uses a set
point equal to 210°C;
The second zone has a local set point equal to - 45°C;
The third zone has a local set point equal to -45 (°C);
The fourth zone has a local set point equal to -30;
The fifth zone has a local set point equal to +40;
The sixth zone has a local set point equal to +50;
In this way, the thermal profile will be the following:
• Master SP = 210°C;
• Second zone SP = 210 -45 = 165°C;
• Third zone SP = 210 -45 = 165°C;
• Fourth zone SP = 210 - 30 = 180°C;
• Fifth zone SP = 210 + 40 = 250°C;
• Sixth zone SP = 210 + 50 = 260°C.
Changing the SP of the master unit, all the other slave
units will immediately change their operative set point.
[81] SPLr - Local/remote set point selection
Available: When at least one output is programmed as
control output.
Range: Loc = Local set point selected by [79] SPAt;
rEn = Remote set point (coming from serial link).
[82] SP.u - Rate of rise for positive set point
change (ramp up)
Available: When at least one output is e programmed as
control output.
Range: 0.01... 99.99 units per minute;
inF = Ramp disabled (step transfer).
[83] SP.d - Rate of rise for negative set point
change (ramp down)
Available: When at least one output is e programmed as
control output.
Range: 0.01... 99.99 units per minute;
inF = Ramp disabled (step transfer).
General note about remote set point
When the remote set point (RSP) with trim action is pro-
grammed, the local set point range becomes the following:
from [73] SPLL+ RSP to [74] SPHL - RSP.
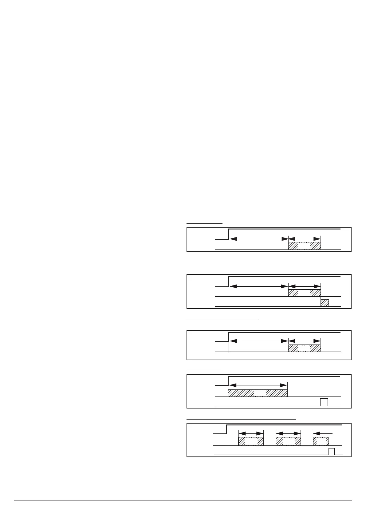
]tin Group - Timer function parameters
Five timer types are available:
Delayed start with a delay time and a “end of cycle” time.
Start
OUT
ON
off
Tr.t1 Tr.t2
off
Setting tr.t2 = inF the timer out remains in ON condition
until a reset command is detected.
Start
OUT
ON
off
Tr.t1 Tr.t2 = inF
off
Reset
Delayed start at Power ON with a delay time and a “end of
cycle” time.
Start
OUT
Poer ON
ON
off
Tr.t1 Tr.t2
off
Feed-through
Start
OUT
ON
Tr.t1
off
Reset
Asymmetrical oscillator with start in OFF
Start
OUT
ON
off
Tr.t2
ON
off
Tr.t1Tr.t1
Tr.t2
ON
off
Tr.t1
Tr.t2
Reset

Related product manuals