EasyManua.ls Logo

Asus RS700-E7/RS4 - Appendix: Reference Information; Z9 PP-D24 Block Diagram

Asus RS700-E7/RS4
196 pages
Print Icon
To Next Page IconTo Next Page
To Next Page IconTo Next Page
To Previous Page IconTo Previous Page
To Previous Page IconTo Previous Page
Loading...
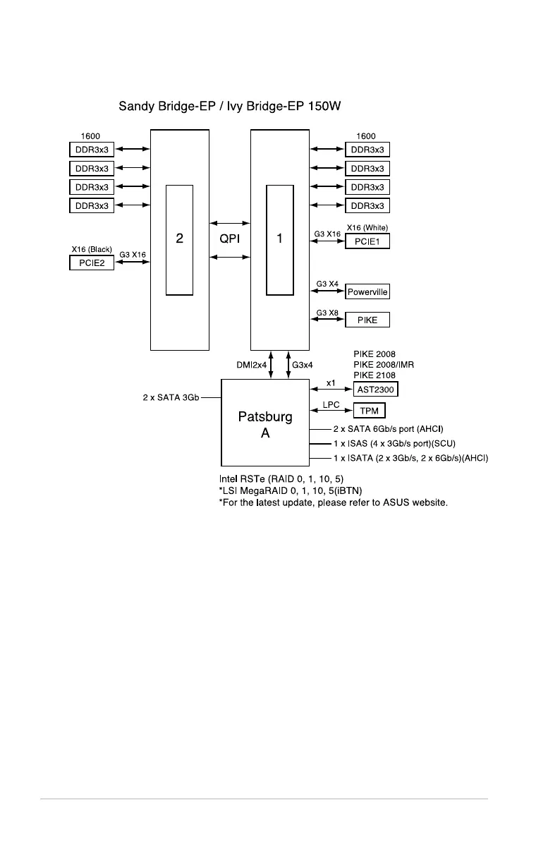
A-2 Appendix A: Reference information
Z9PP-D24 block diagram

Table of Contents

Related product manuals