EasyManua.ls Logo

Atari CX - Page 60

Atari CX
187 pages
Print Icon
To Next Page IconTo Next Page
To Next Page IconTo Next Page
To Previous Page IconTo Previous Page
To Previous Page IconTo Previous Page
Loading...
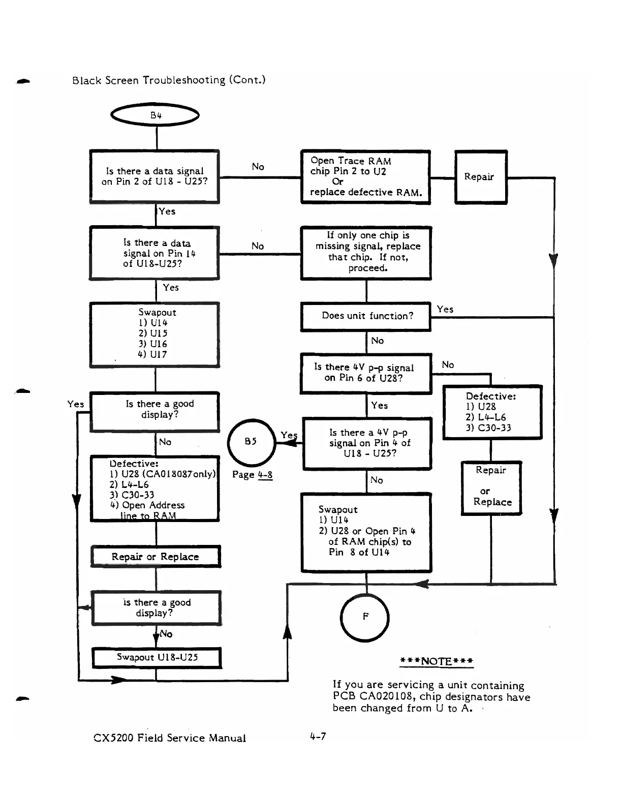
Black Screen
Troubleshooting (Cont.)
I
Is there
a
data
signal on Pin 14
of U18-U25?
I
I
Yes
Swapout
1) Ul4
2) U15
3)
U16
4) U17
J
Is
there a data signal
on Pin2of U18-U25?
I
Yes Is there
a
good
-
display?
I
b
P
Open Trace RAM
chip Pin 2 to U2
Or
replace defective
RAM.
No
'
Defective:
1
)
U28 (CAO 18087'only)
2)
L4-L6
n
+'
4)
Open Address
I
4
Repair
I
line
to
RA,M
1
Yes
I
a
b
Repair
or
Replace
e
1
b
is
there
a
good
display?
I
Swapout U18-U25
4+
If
only one chip
is
missing signal, replace
that chip. If not,
I
proceed.
I
B
Yes
Does unit function?
I
Is
there
4V
p-p
signal
on Pin
6
of U28?
1
Yes
Is there
a
4V p-p
signal on
Pin
4 of
U18
-
U25?
Paae 4-8
Swapout
1) Ul4
2) U28 or Open Pin 4
of
RAM
chip(s) to
Pin
8
of U14
Defective:
1
i;fcL6
1
3) C30-33
A
Repair
J
or
Replace
w
c
If
you
are servicing
a
unit containing
PCB
CA020108,
chip designators have
been changed
from
U
to
A.
CX5200
Field Service Manual

Related product manuals