EasyManua.ls Logo

Atari CX - Page 63

Atari CX
187 pages
Print Icon
To Next Page IconTo Next Page
To Next Page IconTo Next Page
To Previous Page IconTo Previous Page
To Previous Page IconTo Previous Page
Loading...
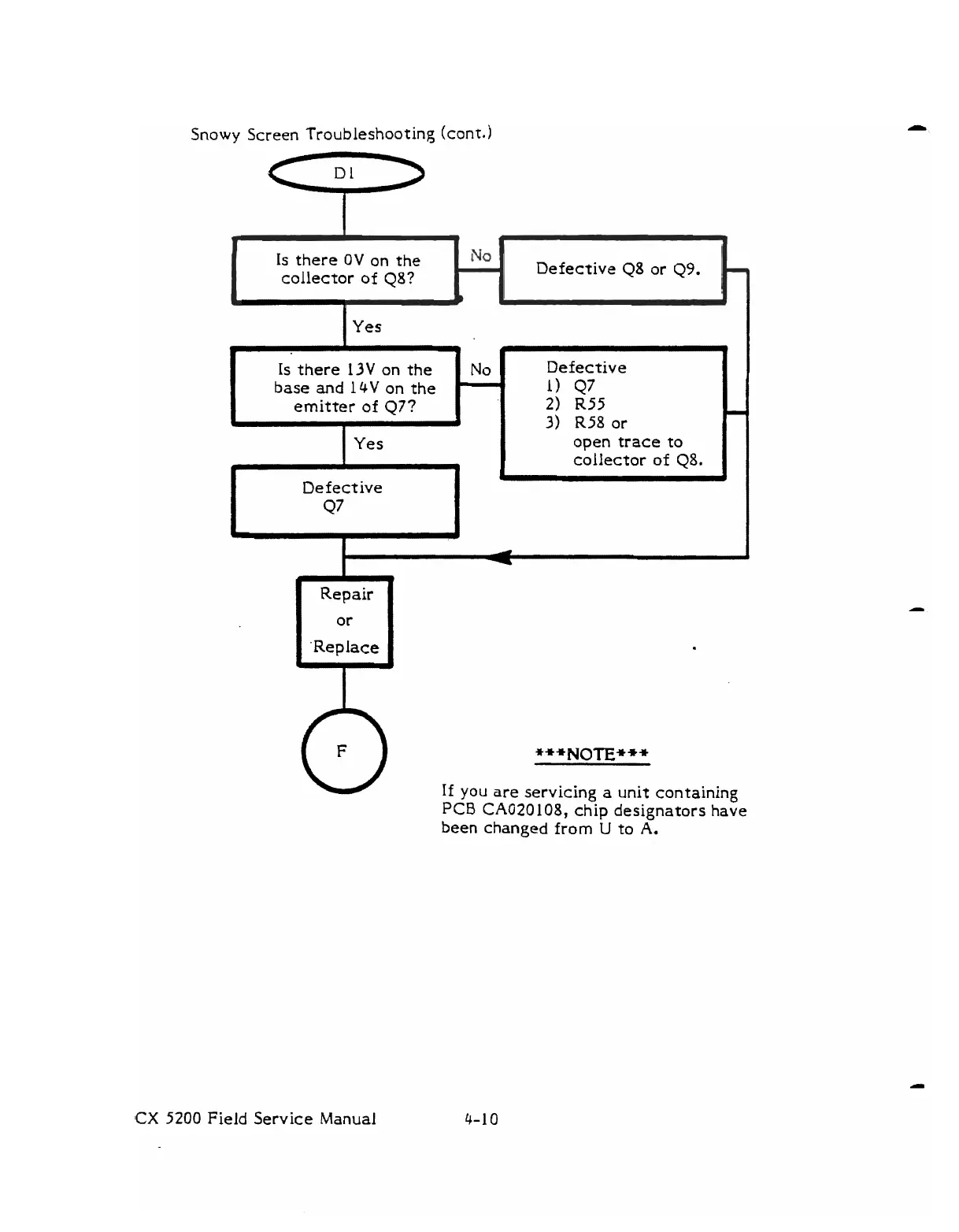
Snowy
Screen
Troubleshooting
(cont.)
7
Is
there OV on the
No
1
collector of
QS?
Defective
48
or
Q9.
-
1
rn
I
Is
there
13V
on the
base and
14V
on
the
emitter of
Q7?
I
Yes
Defective
1)
47
2)
R55
3)
R58 or
open trace to
collector
of
Q8.
I
Defective
Repair
'Replace
CX 5200
Field Service
Manual
If
you
are servicing a unit containing
PCB
CA020108, chip designators
have
been changed from
U
to A.

Related product manuals