EasyManua.ls Logo

Atari CX - Page 84

Atari CX
187 pages
Print Icon
To Next Page IconTo Next Page
To Next Page IconTo Next Page
To Previous Page IconTo Previous Page
To Previous Page IconTo Previous Page
Loading...
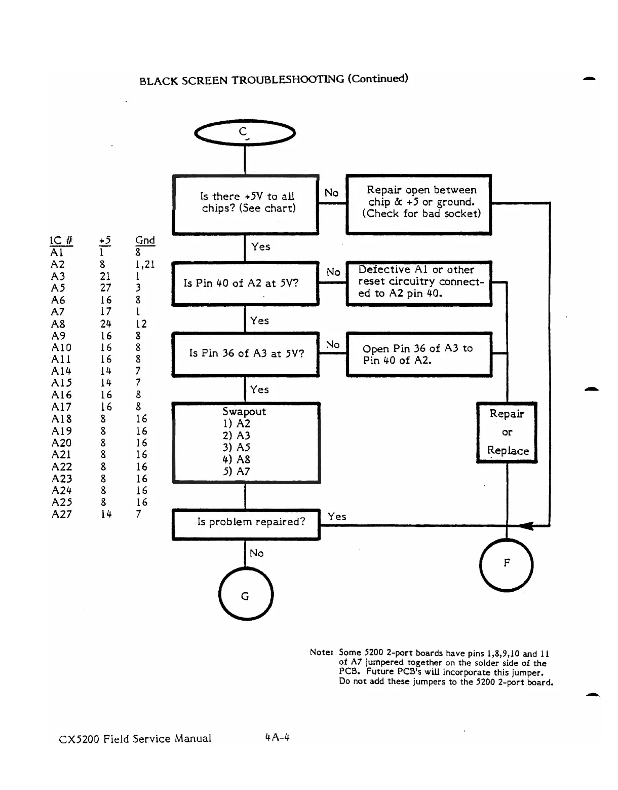
BLACK
SCREEN
TROUBLESHO(M1NG
(continued)
Gnd
-
8
1,21
1
3
8
1
12
8
8
8
7
7
8
8
16
16
16
16
16
16
16
16
7
I
Yes
1
Is
there
+5V
to
ail
chips?
(See
chart)
1
Yes
i
i
A
N~
I
Is
Pin
40
of
A2
at 5V?
Swapout
1)
A2
2)
A3
3)
A5
4)
A8
5)
A7
Repair
open
between
chip
&
+5
or
ground.
(Check
for
bad
socket)
1
Repair
Replace
1
b
Is
Pin
36
of
A3
at
5V?
Note:
Some
5200 2-port boards have pins
1,8,9,10
and
11
of
A7
jurnpered
together
on
the
solder
side
of
the
PCB.
Future
PCB's
will
incorporate
this
jumper.
Do
not
add these jumpers
to the
5200 2-port board.
-
No
CX5200
Field
Service
Manual
Defective
A1
or
other
reset
circuitry
connect-
ed
to
A2
pin
40.
b
Yes
No
Open
Pin
36
of
A3
to
Pin
40
of
A2.
-

Related product manuals