EasyManua.ls Logo

Atari CX - Page 97

Atari CX
187 pages
Print Icon
To Next Page IconTo Next Page
To Next Page IconTo Next Page
To Previous Page IconTo Previous Page
To Previous Page IconTo Previous Page
Loading...
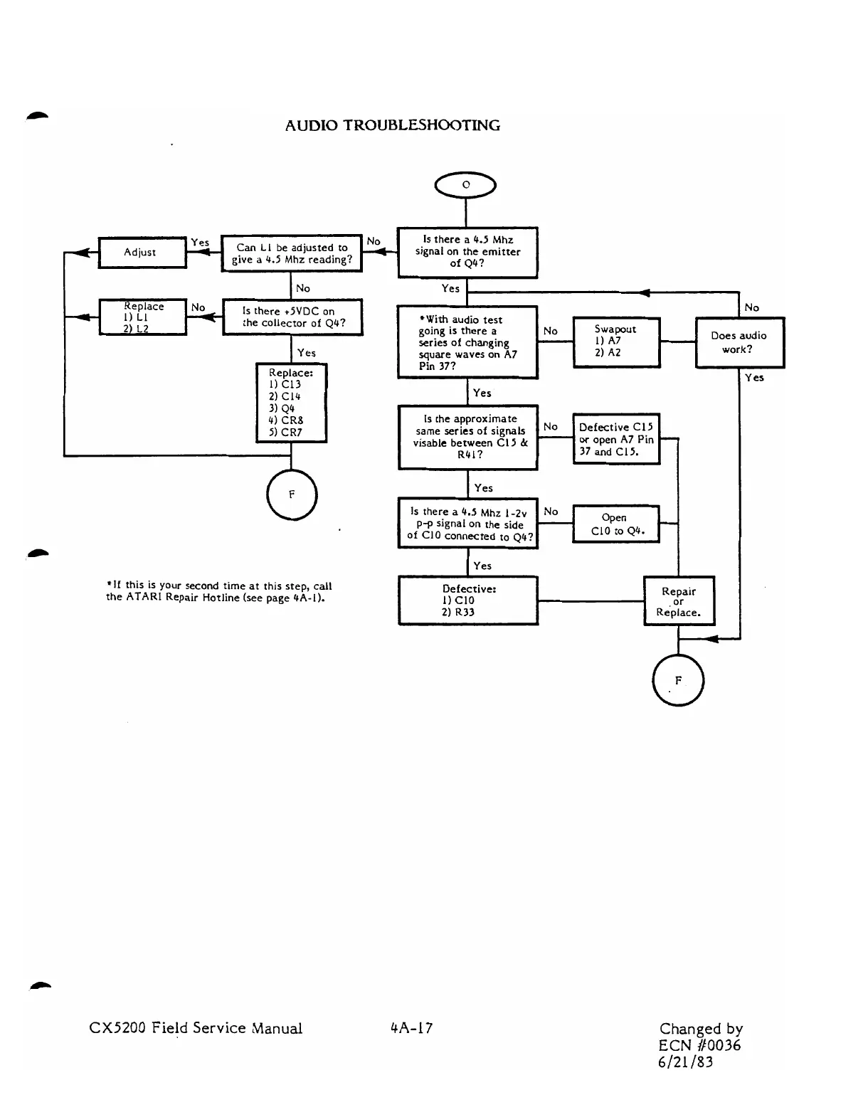
AUDIO
TROUBLESHOOTING
Is there
t5VDC
on
-f
the collector of
Q4?
Adjust
Can LI be adjusted to
give a
4.5
Mhz reading?
L
1
Yes
Is there
a
4.5 Mhz
signal on the emitter
of Q4?
I
Replace:
1)
C13
2)
C14
3)
Q4
4)
CR8
5) CR7
+If this
is
your second time at this step, call
the
ATARI
Repair Hotline (see page 4A-1).
Yes
111
I
No
+With
audio test
,
b.
going
is
there a No Swapout
I
l)A7
Does
audio
series of changing
2) A2 work?
square
waves on
A7
Pin
37?
b
)
9
1
Yes
Is
the approximate
same series of signals
visable between
CIS
&
R4
l?
M
open
A7
Pin
37
and
C15.
Is there a 4.5
Mhz
I
-2v
p-p signal on the side
1
yes
I
Defective: Repair
I)
C10
2)
R33
CX5200
Field
Service
Manual
Changed
by
ECN
/I0036
6/21
/83

Related product manuals