EasyManua.ls Logo

ATIMA AY3000i - Battery Charging

ATIMA AY3000i
38 pages
Print Icon
To Next Page IconTo Next Page
To Next Page IconTo Next Page
To Previous Page IconTo Previous Page
To Previous Page IconTo Previous Page
Loading...
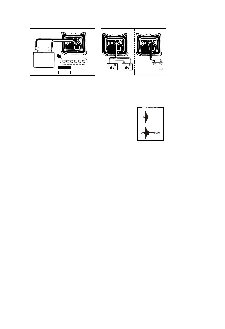
BATTERY CHARGING
12v
NOTICE
Do not connect a VRLA (Valve Regulated Lead Acid) battery. To charge a VRLA
battery, a special (constant-voltage) battery charger is required.
TIP
The generator DC rated voltage is 12V.
Start the engine first, and then connect the
generator to the battery for charging.
1.Start the engine.
2.Connect the red battery charger to the positive (+) battery terminal.
3.Connect the black battery charger to the negative (-) battery terminal.
NOTICE
Be sure to connect the red battery charger lead to the positive (+) battery terminal,
and connect the black lead to the negative (-) battery terminal. Do not reverse
these positions.
Connect the battery charger leads to the bat-tery terminals securely so that they
are not dis-connected due to engine vibration or other disturbances.
Charge the battery in the correct procedure by following instructions in the owner’s
manual for the battery.
The DC protector turns off automatically if current above the rated flows during
battery charging.
TIP
Follow instructions in the owner’s manual for the battery to determine the end of
battery charging.
Measure the specific gravity of electrolyte to determine if the battery is fully
charged. At full charge, the electrolyte specific gravity is between 1.26 and 1.28.
It is advisable to check the specific gravity of the electrolyte at least once every
hour to prevent over-charging the battery.
Red wire
Black wire
D
Before starting to charge the battery, make sure
that the DC protector is turned on.
To restart charging the battery, turn the DC protector on by pressing its button to “ON”.
If the DC protector turns off again, stop charging the battery immediately and consult
a ATIMA SELLER.
26