EasyManua.ls Logo

Atlas Copco ZR-75 - Page 21

Atlas Copco ZR-75
138 pages
To Next Page IconTo Next Page
To Next Page IconTo Next Page
To Previous Page IconTo Previous Page
To Previous Page IconTo Previous Page
Loading...
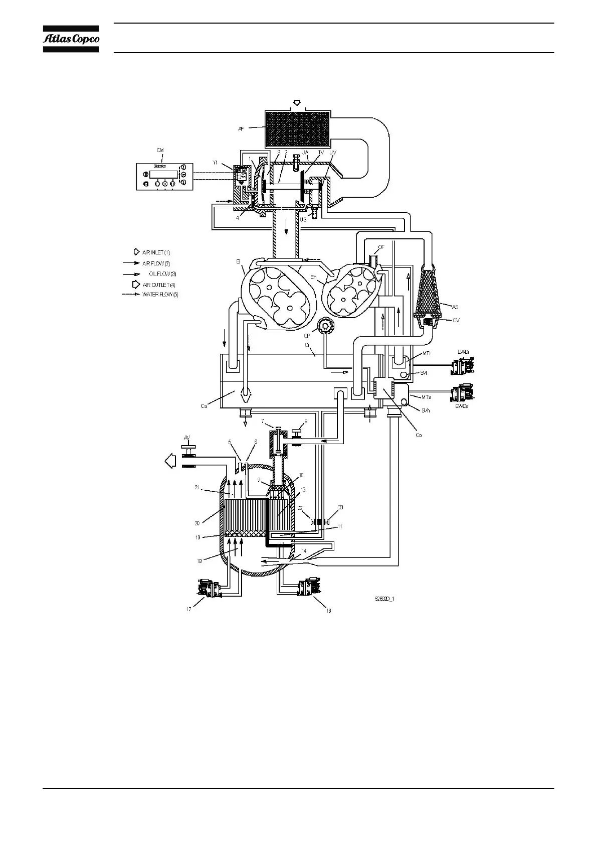
Flow diagram, ZR Full-Feature
Instruction book
20

Table of Contents

Related product manuals