EasyManua.ls Logo

Atlas Copco ZR-75 - Condensate Drain System

Atlas Copco ZR-75
138 pages
To Next Page IconTo Next Page
To Next Page IconTo Next Page
To Previous Page IconTo Previous Page
To Previous Page IconTo Previous Page
Loading...
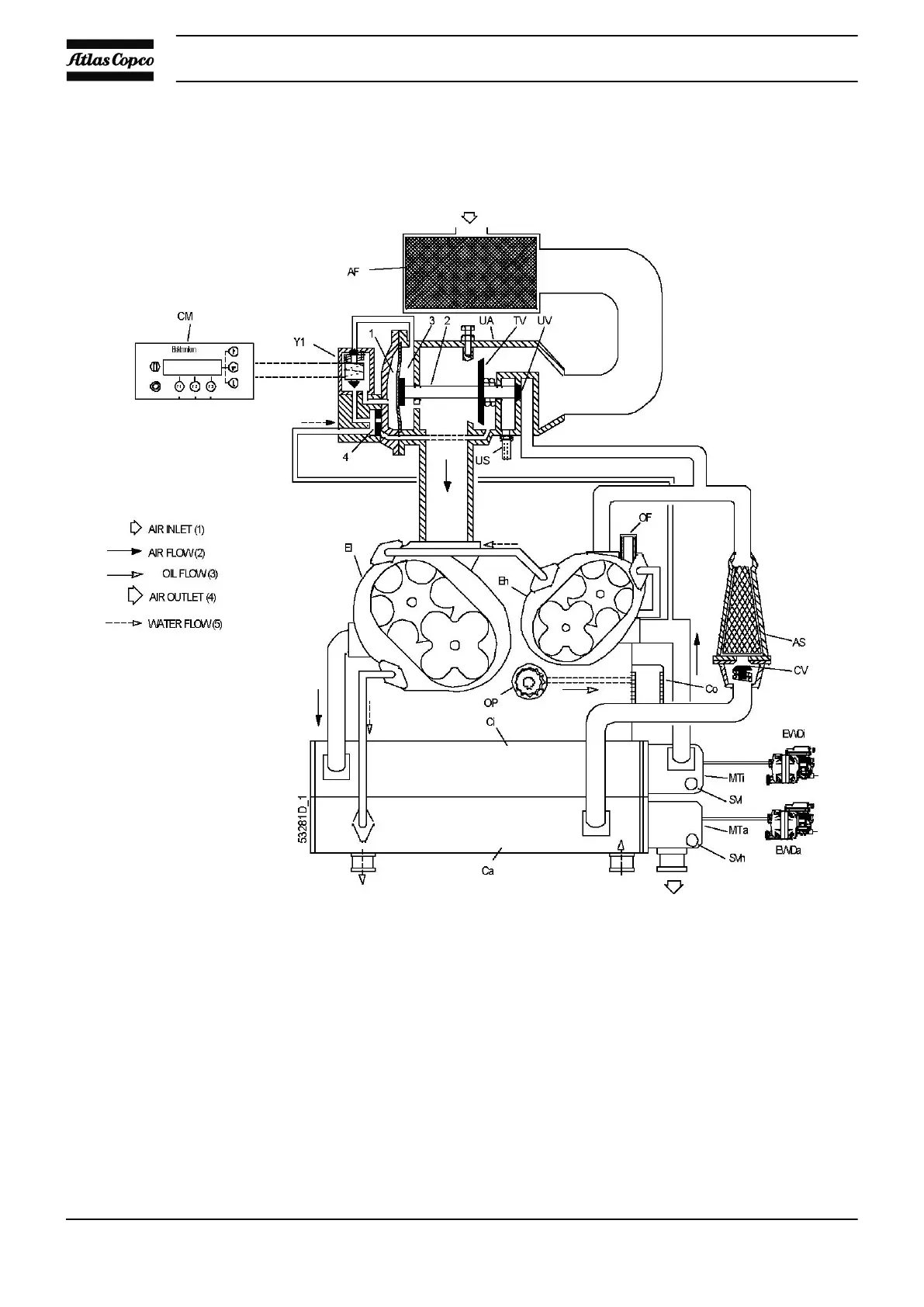
2.3 Condensate drain system
Flow diagram, ZR
Instruction book
26

Table of Contents

Related product manuals