EasyManua.ls Logo

Atmos DC 30 - Ceramic Ash Areas

Atmos DC 30
44 pages
Print Icon
To Next Page IconTo Next Page
To Next Page IconTo Next Page
To Previous Page IconTo Previous Page
To Previous Page IconTo Previous Page
Loading...
Instruction manual - GB
www.atmos.cz
GB-35
GB
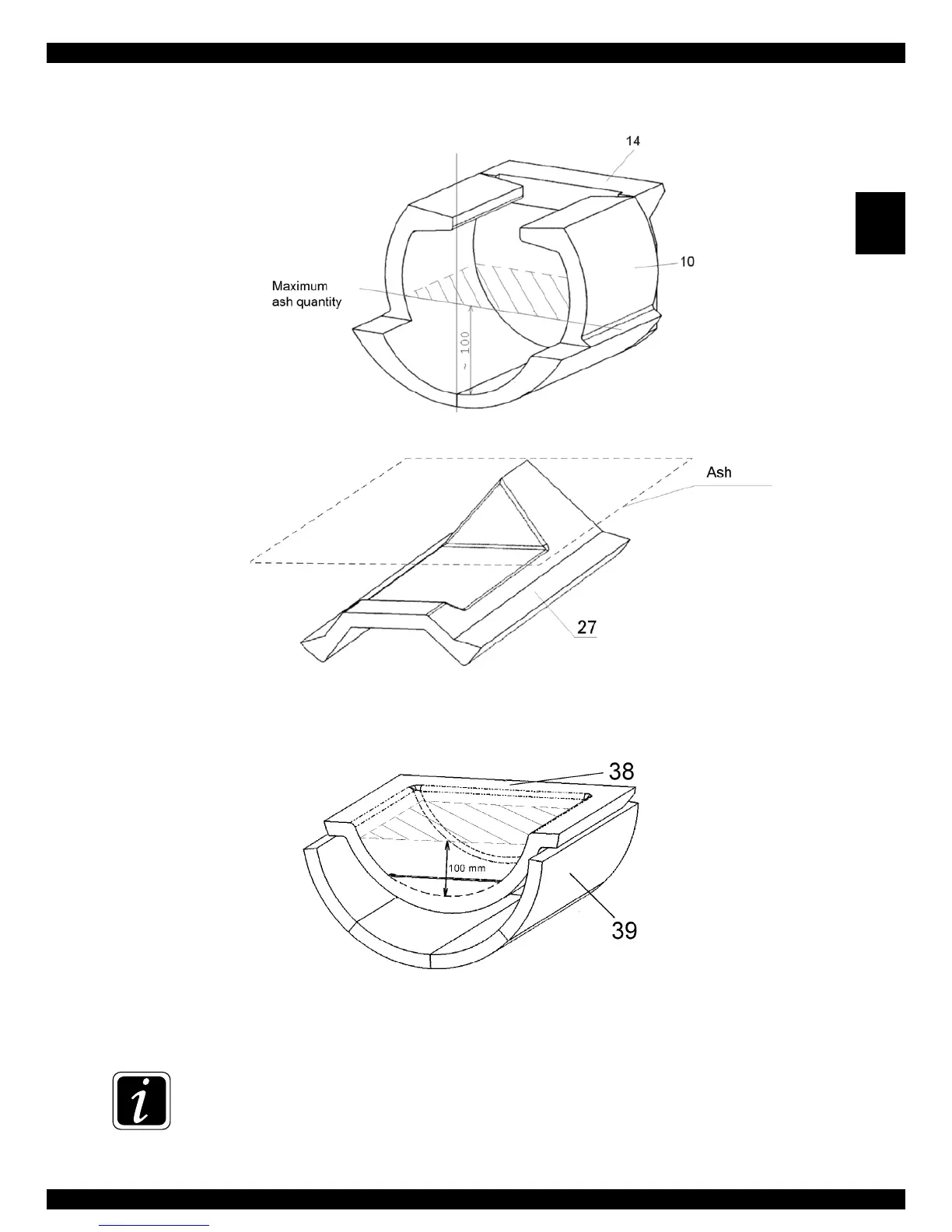
Ceramic ash areas
For type
DC18S
DC20GS
DC22SX
DC25GS
DC32GS
DC40GS
DC30SE
For type
DC15E
DC18S
DC22S
DC25S
DC30SX
DC32S
DC50S
DC40SE
DC40SX
DC50SE
DC75SE
Maximum ash quantity – only up to the upper roofs edge level !
For type
DC15E
Maximum ash quantity !
NOTE –regular and thorough cleaning is important for permanent stabilised output and a
long service life of your boiler. If not cleaned properly, damage to the boiler may occur –the
manufacturer’s guarantee is rendered invalid

Table of Contents

Related product manuals